| 索 引 号 | 687902632/2022-01168 | 关 键 词 | 应急预案 |
| 发布机构 | 苍溪县人民政府办公室 | 发文日期 | 2022-07-11 |
| 文号 | 苍府办函〔2022〕18号 | 体裁分类 | 其他 |
苍溪县人民政府办公室
关于印发《苍溪县防汛抗旱应急预案(2022年修订)》和《苍溪县突发地质灾害应急预案(试行)》的通知
苍府办函〔2022〕18号
各乡镇人民政府,县级各部门:
《苍溪县防汛抗旱应急预案(2022年修订)》和《苍溪县突发地质灾害应急预案(试行)》已经县政府同意,现印发给你们,请认真贯彻落实。
苍溪县人民政府办公室
2022年6月20日
苍溪县防汛抗旱应急预案(2022年修订)
1 总则
1.1 指导思想
以习近平新时代中国特色社会主义思想为指导,坚持以人民为中心,坚持人民至上、生命至上,落实习近平总书记关于防灾减灾救灾工作的重要论述和“两个坚持、三个转变”防灾减灾救灾理念,始终把保障人民群众生命财产安全放在第一位,统筹发展和安全,推进防汛抗旱体系和能力现代化建设,有效防范重大水旱灾害,维护社会大局稳定。
1.2 编制依据
依据《中华人民共和国水法》《中华人民共和国防洪法》《中华人民共和国突发事件应对法》《中华人民共和国防汛条例》《中华人民共和国抗旱条例》《中华人民共和国河道管理条例》《四川省〈中华人民共和国防洪法〉实施办法》《四川省〈中华人民共和国抗旱条例〉实施办法》等法律法规,及《国家防汛抗旱总指挥部办公室关于印发〈关于加强地方防汛抗旱应急预案修订的指导意见〉的通知》(国汛办〔2022〕1号)、《苍溪县人民政府办公室关于调整防汛抗旱工作体制机制的通知》(苍府办发〔2021〕17号)等要求,参照《广元市人民政府办公室关于印发〈广元市防汛抗旱应急预案(2022年修订)〉的通知》(广府办发〔2022〕51号),结合我县实际,制定本预案。
1.3 适用范围
本预案适用于全县范围内突发性水旱灾害的预防和应急处置。突发性水旱灾害包括:江河洪水、渍涝灾害、山洪泥石流灾害、河道壅塞、堰塞湖、干旱灾害、供水危机及由洪水、地震、恐怖活动等引发的水库水电站垮坝、堤防渠道决口、水闸倒塌等次生衍生灾害。
1.4 工作原则
防汛抗旱工作实行各级政府行政首长负责制,坚持以下原则:
——两个坚持、三个转变。坚持以防为主、“防抗救”相结合,坚持常态减灾和非常态救灾相统一,努力实现从注重灾后救助向注重灾前预防转变,从应对单一灾种向综合减灾转变,从减少灾害损失向减轻灾害风险转变。
——统一领导、分级负责。严格落实“党政同责、一岗双责、齐抓共管、失职追责”要求,坚持分级负责、属地为主、层级响应、协调联动,做好防灾减灾救灾工作。相关部门依照本预案确定的任务,尽职尽责、密切协作、快速反应、形成合力、积极应对。
——预防为主、综合施策。坚持工程与非工程措施相结合,完善防洪抗旱工程体系,突出水旱隐患排查整治,加强预案管理和物资队伍建设,强化监测会商与分析研判,健全预报预警发布机制,针对性开展演练,实现预报、预警、预演、预案的全链条融合。
——科学处置、安全第一。险灾情发生后,坚持科学指挥决策,迅速组织专业队伍,及时开展险灾情处置,严防次生灾害发生。处置过程中要始终将抢险救援人员和群众的生命安全放在首位,及时转移受威胁人员。
——以专为主、专群结合。加强防汛抗旱专业化队伍建设,积极运用新技术、新手段、新方法,将科学研判、快速处置、精准管控等要求贯穿“防抗救”各环节,不断提升防汛抗旱专业化水平。加强防汛抗旱宣传培训,健全群测群防体系,增强干部群众辨灾识灾、转移避险、自救互救的意识和实战能力。
1.5 工作机制
建立健全防汛抗旱责任落实“三单一书”、责任督促“两书一函”“四不两直”等工作机制,建立嘉陵江上游防汛联动工作机制及苍溪与剑阁、昭化、旺苍水文信息共享机制;制定工作规则,厘清各相关部门上下层级间、部门间的工作关系,构建分工明确、责任清晰、配合紧密的职责体系,形成统一指挥、高效协同、无缝衔接的“防抗救”一体化格局,以更高标准、更严要求、更快反应、更好效果做好防汛抗旱工作。
1.6 应急响应分级
根据预警、汛情、险情、灾情的影响程度、范围和发展趋势,县级防汛抗旱应急响应由高到低分为一、二、三、四级。
1.7 主要任务
——减轻灾害风险,做好灾前预防和准备。
——密切监控雨水情、旱情、工情、险灾情,强化会商研判,及时发布预报预警。
——组织开展应急供水、调水,解决农村因旱人畜饮水困难。
——组织疏散、转移、解救受威胁人员,及时妥善安置,开展必要的医疗救治。
——科学运用各种手段开展险灾情处置,严防次生衍生灾害发生。
——组织抢救、转移重要物资,管控重大危险源,保护重要民生和军事目标。
——加强灾害发生地区及周边社会治安,保障公共安全,维护社会稳定。
2 组织指挥体系及职责
严格落实县、乡镇党委政府防汛救灾主体责任,坚持党政同责、一岗双责,建立健全统一权威高效的组织指挥体系,全面提升防汛抗旱防范应对能力。
2.1 组织指挥体系
苍溪县防汛抗旱组织指挥体系图见附件1。
2.1.1 县防汛抗旱指挥部
苍溪县防汛抗旱指挥部(以下简称县防指)是县应急委员会(以下简称县应急委)下设的专项指挥部,在县委、县政府和县应急委领导下负责组织、协调、指导全县防汛抗旱工作。
县防指由县政府主要领导任总指挥,分管应急管理工作的副县长和分管水利工作的副县长共同担任指挥长,由分管水利工作的副县长负责日常工作,县人武部分管负责同志任第一副指挥长,县水利局局长、县应急局局长任常务副指挥长,县政府办公室、县自然资源局、县住建局、县气象局、武警苍溪中队、县消防救援大队主要负责同志及县水利局、县应急局分管负责同志任副指挥长。县人武部、县委宣传部、县发改局、县经信局(苍溪经开区管委会)、县教科局、县公安局、县民政局、县财政局、县自然资源局、县住建局、县交运局、县水利局、县农业农村局、县商务经合局、县文化旅游体育局、县卫生健康局、县应急局、县乡村振兴局、县林业局、县综合执法局、县气象局、县人防办、县国资事务中心、县红十字会、县消防救援大队、武警苍溪中队、国网苍溪供电公司、电信苍溪分公司、移动苍溪分公司、联通苍溪分公司、铁塔广元分公司苍溪办事处等为成员单位,相关负责同志为县防指成员。
县防汛抗旱指挥部办公室(以下简称县防办)设在县应急局、县水利局。办公室主任由县应急局局长、县水利局局长兼任,办公室常务副主任由县水利局分管负责同志兼任,副主任由县应急局、县自然资源局、县住建局、县气象局分管负责同志兼任。
2.1.2乡镇、村(社区)防汛抗旱组织
有防汛抗旱任务的乡镇设防指,由主要负责人担任指挥长,并明确与防汛抗旱工作任务相适应的工作人员,在上级防指的领导下,负责本区域防汛抗旱工作。
有防汛抗旱任务的行政村、城镇社区设防汛抗旱工作小组,由行政村、社区主要负责人担任责任人,兼任山洪灾害防御责任人,在上级防指的领导下,负责本区域防汛抗旱工作。
2.1.3 其他防汛抗旱组织
有关水利工程管理单位、在建涉水工程建设单位、有防汛抗旱任务的大中型企业和生产经营单位以及建筑施工单位,应组建专门机构,落实专门的工作人员,负责本单位的防汛抗旱工作。
2.2 工作职责
各乡镇、县级相关部门应当加强对防汛抗旱工作的统一领导,实行行政首长负责制。要组织有关部门、单位,动员社会力量,采取措施加强防汛抗旱工程设施建设,巩固提高防洪能力;督促落实各项预防措施,提高防灾减灾能力;做好水旱灾害后的恢复与救济工作,包括灾区的生活供给、卫生防疫、救灾物资供应、治安管理、学校复课、恢复生产和重建家园等救灾工作以及所管辖地区的各项水毁工程设施修复工作;在县财政预算中安排资金,用于灾害预防、遭受洪涝干旱灾害地区的抢险救灾和水毁工程修复。
2.2.1县防指职责
县防指在县委、县政府和县应急委领导下,负责组织、协调、监督、指导全县防汛抗旱工作。主要职责是:
(1)坚持以习近平新时代中国特色社会主义思想为指导,深入贯彻落实习近平总书记关于防灾减灾救灾和应急救援等重要论述精神,拥护“两个确立”,增强“四个意识”,坚定“四个自信”,做到“两个维护”,严格执行党中央国务院、省委省政府、市委市政府以及国家防汛抗旱总指挥部(以下简称国家防总)、省防汛抗旱指挥部(以下简称省防指)、市防汛抗旱指挥部(以下简称市防指)关于防汛抗旱的方针政策和决策部署。
(2)贯彻落实县委、县政府关于防汛抗旱工作的决策部署,分析研判全县防汛抗旱形势,部署水旱灾害防御工作,加强灾害应对处置工作的全过程统筹并监督执行情况。
(3)督促指导工程治理和非工程措施建设;完善防汛抗旱体系,提升全县防灾减灾能力;督促指导做好思想、责任、措施落实等汛前准备工作;汛期组织会商研判,加强监测预警。
(4)督促指导防汛抗旱突发事件应对处置工作,适时启动防汛抗旱应急响应,科学调度洪水,及时处置险情、灾情;及时发布一般等级以上或影响较大的防汛抗旱相关信息;指导各乡镇、县级相关部门对未达到响应级别的防汛抗旱突发事件的处置工作。
(5)按照县应急委安排,负责组织指挥水旱灾害突发事件的应对处置工作。较大及以上水旱灾害突发事件发生后,在上级领导下开展应对处置工作。
(6)建立完善法规制度、预案体系,加强宣传培训演练,提升群众防灾减灾意识。
(7)完成市防指和县委、县政府交办的其他工作。
2.2.2县防指领导职责
总指挥:担任全县防汛抗旱工作行政责任人,全面领导、指挥全县防汛抗旱工作,对防汛抗旱工作负总责。
指挥长:协助总指挥指挥、组织、协调全县防汛抗旱工作。分管应急管理工作的副县长负责防汛抗旱应急救援能力建设、灾后恢复重建等工作;分管水利工作的副县长负责县防指日常工作。完成总指挥安排的其他任务。
第一副指挥长:协助总指挥、指挥长落实防汛抗旱各项决策部署和工作要求。负责组织指挥驻苍部队和民兵(含预备役部队)、协调入苍支援部队开展抗洪抢险、营救群众等防汛抗旱行动。完成总指挥安排的其他任务。
常务副指挥长:协助总指挥、指挥长落实防汛抗旱各项决策部署和工作要求,负责县防办日常工作。县水利局局长统筹负责“防”和“治”的相关工作,做好防御洪水应急抢险的技术支撑和保障工作;县应急局局长统筹负责“救”的相关工作,协同做好“防”和“治”相关工作。完成总指挥安排的其他任务。
副指挥长:协助总指挥、指挥长落实防汛抗旱各项决策部署和工作要求,按照工作分工和总指挥、指挥长的安排,做好职责范围内的防汛抗旱工作。
2.2.3县防办职责
县防办承担县防指日常工作,组织、协调、指导、监督全县防汛抗旱工作。负责检查督促各乡镇、县防指成员单位贯彻落实国家防总(办)、省防指(办)、市防指(办)和县委、县政府、县防指的工作部署情况。负责县防指各成员单位综合协调工作,及时沟通、共享相关信息,向县防指提出重要防汛抗旱指挥、调度、决策意见。
(1)建立完善防汛抗旱工作机制。
(2)安排部署各乡镇、县级各部门汛前准备工作并组织开展督促检查,负责本级相关防汛抗旱责任人的汇总上报并公示。
(3)组织开展防汛抗旱值班值守、会商调度、隐患排查、督导检查工作。
(4)组织防汛抗旱应急预案的编制及修订;组织开展防汛抗旱综合演练工作;负责水旱灾情统计、核实、上报和发布。
(5)统筹防汛抗旱宣传和信息报送、发布工作,发布县委、县政府相关重大决策部署和重大汛情、旱情及防汛抗旱动态等。
(6)负责县防指会议组织、文件起草、简报编印、档案管理等工作。
(7)完成县委、县政府和县防指交办的其他工作。
2.2.4县防指成员单位职责
县防指成员单位是县防汛抗旱组织领导体系的重要组成部分,应根据职责分工,各司其职、各负其责、密切协作,确保防汛抗旱各项工作任务高质量完成。
县人武部:负责协调驻苍部队,组织民兵执行抗洪抢险、营救群众、转移运送物资、稳定秩序及其它重大防汛抗旱任务。完成县防指交办的其他任务。
县水利局:负责全县水旱灾害防治工作;负责统筹未启动防汛抗旱应急响应时和启动三级、四级防汛抗旱应急响应后的全县水旱灾害应对处置工作;负责指导各乡镇、县级相关部门对一般水旱灾害突发事件的处置工作;负责承担防御洪水应急抢险的技术支撑和保障工作;负责协助编制修订《苍溪县防汛抗旱应急预案》;负责落实综合防灾减灾规划相关要求,组织编制并实施水旱灾害防治规划和防护标准;承担水情旱情监测预警工作;负责水旱灾害风险普查与区划分级;组织编制县内重要江河和重要水工程的防御洪水、抗御旱灾调度和应急水量调度方案;组织编制县城区及沿河乡镇超标洪水防御方案、水工程度汛方案、应急抢险预案、汛期调度运用计划,按程序报批并组织实施;督促指导水利工程设施、设备的安全运行、应急抢护,负责防洪抗旱工程安全和监督管理;负责指导、协调大中型水库、电站移民安全度汛工作;负责监督、指导监管职责范围内水电站安全度汛工作;完成县防指交办的其他任务。
县应急局:负责统筹启动一级、二级防汛抗旱应急响应后的全县水旱灾害应对处置工作;负责协助指导各乡镇、县级各部门对一般水旱灾害突发事件的处置工作;负责协助全县水旱灾害防治工作;负责编制修订《苍溪县防汛抗旱应急预案》;负责洪涝灾区和旱区群众的生活救助,督促、指导各级应急救援演练;建立灾情报告制度,提交县防指依法统一发布灾情;组织开展综合监测预警,承担洪水干旱灾害综合风险评估工作。完成县防指交办的其他任务。
县委宣传部:负责防汛抗旱重大信息发布、舆论引导等工作;统筹做好防汛抗旱网络舆情管控工作,指导相关单位(部门)做好舆情监测、上报、研判、处置等工作,及时发布相关信息,回应社会关切。完成县防指交办的其他任务。
县发改局:负责重点防汛抗旱建设项目审批,配合有关部门积极争取将重大防汛和抗旱工程建设纳入国家、省、市基建计划。负责应急粮油和帐篷、棉被等救灾物资储备。按照职责分工配合做好能源领域防汛抗旱的组织实施工作,配合做好受灾区域和受灾群众生产生活能源保障有关工作。负责监督、指导县内在建水电工程、粮食流通、储备行业防汛安全工作,督促做好安全度汛。完成县防指交办的其他任务。
县经信局(苍溪经开区管委会):负责防汛抗旱、抢险救灾的电煤、电力、成品油、天然气的紧急调度和铁路运输的协调,并按照县防指调度指令做好应急药品储备保障;监督、指导县内总装机容量5万千瓦及以上运营水电站防汛安全运行,协调县防指防洪调度指令顺利执行;组织指导县通信企业保障通信设施的防洪安全,保障抢险救灾指挥和重要部门、区域的通信畅通。负责指导全县石油天然气管道防汛抢险工作,保证工业供气系统的正常运转。负责协调、指导、监管全县工业园区内所涉及企业的防汛抢险救灾工作。完成县防指交办的其他任务。
县教科局:负责组织指导学校防汛减灾工作和校区的防汛安全,组织指导各地有序组织师生安全撤离,必要时采取停课、调整上课时间、停止校车运营等措施。完成县防指交办的其他任务。
县公安局:负责维护防汛抢险秩序和灾区社会治安等工作,协助组织群众撤离和转移。完成县防指交办的其他任务。
县民政局:指导各类社会组织、志愿者规范开展救灾捐赠工作,及时做好统计、分配、使用、公示和反馈等工作;督促指导各地及时将符合条件的受灾群众纳入临时救助或最低生活保障范围。完成县防指交办的其他任务。
县财政局:负责县级防汛抗旱经费的筹集、拨付和监督管理,及时下拨中央、省、市、县防汛抗旱补助资金。完成县防指交办的其他任务。
县自然资源局:负责指导协调因降雨诱发的山体滑坡、崩塌、地面塌陷、泥石流等地质灾害监测、预警、防治等工作,做好因降雨突发地质灾害抢险救援的技术保障工作。负责为防汛抗旱决策提供地理信息支持。完成县防指交办的其他任务。
县住建局:负责组织实施县城区排水防涝工程施工及设施设备应急抢修,指导乡镇建成区排水防涝设施施工工程、乡镇建成区内的排涝设施和设备的应急抢护等工作,组织指导对灾区受灾房屋结构安全进行应急评估,为灾区群众应急安置房和灾后返迁房的启用安全提供技术指导。完成县防指交办的其他任务。
县交运局:负责公路水路交通行业防汛抗旱工作,指导和协调处置职责范围内公路水路抢通保通和应急运输保障等工作,配合公安交警做好道路交通管制;组织开展船舶安全度汛监管,落实船舶禁航、停渡、固锚等制度,避免船只及监管职责范围内的油罐等随洪水进入河道对桥梁、堤坝安全造成威胁;指导和参与江河大型漂移物和危化品拦截。完成县防指交办的其他任务。
县农业农村局:负责及时收集、整理和反映全县农业旱涝灾情信息,指导全县农业防汛抗旱和灾后农业救灾、生产恢复及农垦(农场)系统的防汛安全等工作。协调指导水产畜牧业、山坪塘、农田水利设施的防汛工作以及灾后的恢复重建。完成县防指交办的其他任务。
县商务经合局:负责灾区主要生活必需品市场监测,保障主要生活必需品市场供应,协调防汛抗旱救灾物资和灾后恢复重建主要生活必需品供应等工作。完成县防指交办的其他任务。
县文化旅游体育局:负责组织指导文化旅游行业做好防汛减灾、防汛安全等工作;指导景区主管部门做好景区景点防汛减灾工作;负责组织广播电视防汛抗旱宣传工作,配合做好防汛预警信息发布等工作。完成县防指交办的其他任务。
县卫生健康局:负责组织、指导灾区卫生防疫和医疗救护工作,做好救灾医疗物资储备工作。完成县防指交办的其他任务。
县乡村振兴局:负责指导、协调乡村振兴建设过程中的防汛抗旱工作,做好因水旱灾害返贫监测帮扶工作。完成县防指交办的其他任务。
县林业局:负责及时收集、整理和反馈全县林业行业旱涝灾情信息,做好林业防汛抗旱救灾、生产恢复、灾后生态修复等工作。完成县防指交办的其他任务。
县综合执法局:根据职能职责,履行汛期城市管理工作,在县防指统一指挥下协助受威胁人员转移,做好行业领域防汛抗旱工作。完成县防指交办的其他任务。
县气象局:负责天气气候监测、预报、预警,及时、准确提供防汛抗旱所需的气象信息,组织实施抗旱人工增雨作业。完成县防指交办的其他任务。
县人防办:负责协调组织人防工程防汛抗旱工作,协助各专业队伍配合做好防汛抢险救灾工作。完成县防指交办的其他任务。
县国资事务中心:负责督促指导所监管县属国有企业防汛抗旱工作,组织国有企业配合做好防汛抗旱工作。完成县防指交办的其他任务。
县红十字会:负责组织社会力量,筹措社会资金,配合协助水旱灾害抢险救援。完成县防指交办的其他任务。
县消防救援大队:根据险情灾情,按照县防指安排,参与防灾减灾救灾有关工作,依法承担水旱灾害突发事件有关抢险救援工作。完成县防指交办的其他任务。
武警苍溪中队:负责组织所属部队执行抗洪抢险、营救群众、转移运送物资、保护重要目标安全,协同公安机关维护灾区社会秩序及其他重大防汛抗旱任务。完成县防指交办的其他任务。
国网苍溪供电公司:负责防汛抗旱电力调度运行、电力设施保障等工作。完成县防指交办的其他任务。
电信苍溪分公司、移动苍溪分公司、联通苍溪分公司、铁塔广元分公司苍溪办事处:负责所辖通信设施的防洪安全,保障抢险救灾指挥和重要部门、区域的通信和预警信息发布渠道畅通。完成县防指交办的其他任务。
2.3 专项工作组
县防指根据应急响应等级成立专项工作组,专项工作组数量、成员单位和职责可根据实际需要进行调整。各专项工作组组长由牵头单位负责同志担任,负责协调工作组各成员单位共同做好应急处置工作,组内成员单位要加强分工合作、协调联动,形成应对合力。
(1)综合协调组
牵头单位:县应急局、县水利局。
成员单位:县发改局、县公安局、县自然资源局、县交运局、县农业农村局、县住建局、县国资事务中心等相关单位。
工作职责:传达贯彻党中央国务院、国家防总、省委省政府、省防指、市委市政府决策部署,传达执行市防指、县委县政府安排要求,做好防汛抗旱综合协调工作。汇总报送灾险情动态和应急工作进展情况等。完成县防指交办的其它任务。
(2)抢险救援组
牵头单位:县应急局
成员单位:县人武部、县公安局、县自然资源局、县住建局、县水利局、县人防办、县红十字会、县消防救援大队、武警苍溪中队等相关单位。
工作职责:制定抢险救援方案,提出抢险救援力量使用建议;根据灾情和地方需求,协调调度应急救援队伍、装备、物资等资源;协调调动军队力量、组织民兵力量参加抢险救援;统筹社会救援力量有序参与抢险救援;做好应急救援力量的后勤保障工作。完成县防指交办的其它任务。
(3)技术保障组
牵头单位:县水利局
成员单位:县自然资源局、县住建局、县应急局、县气象局等相关单位。
工作职责:负责做好气象、水文、地质、测绘等信息保障。密切监视汛情、险情、灾情及次生衍生灾害发展态势,及时组织会商研判,为应急救援提供技术保障。完成县防指交办的其他任务。
(4)通信电力保障组
牵头单位:县经信局(苍溪经开区管委会)
成员单位:县发改局、国网苍溪供电公司、电信苍溪分公司、移动苍溪分公司、联通苍溪分公司、铁塔广元分公司苍溪办事处等相关单位。
工作职责:负责应急通信、电力等保障工作;组织抢修供电、供气、通信等设施。完成县防指交办的其他任务。
(5)交通保障组
牵头单位:县交运局
成员单位:县公安局等相关单位。
工作职责:负责做好道路运输保障。实施必要的交通疏导和管制,维护交通秩序;协调组织优先运送伤员和抢险救援救灾人员、物资、设备。完成县防指交办的其他任务。
(6)灾情评估组
牵头单位:县应急局
成员单位:县自然资源局、县住建局、县交运局、县水利局、县农业农村局等相关单位。
工作职责:负责水旱灾害事件灾情统计、核查和灾情损失评估、灾害调查评估。完成县防指交办的其他任务。
(7)群众安置组
牵头单位:县应急局
成员单位:县教科局、县民政局、县财政局、县自然资源局、县住建局、县水利局、县商务经合局、县文化旅游体育局、县红十字会等相关单位。
工作职责:负责组织、指导受灾群众(游客)转移安置和基本生活保障。对安置场所进行灾害风险评估;及时组织调拨救灾款物,视情开展救灾捐赠;做好受灾人员家属安抚和遇难人员遗体处置工作。完成县防指交办的其他任务。
(8)医疗救治组
牵头单位:县卫生健康局
成员单位:县经信局(苍溪经开区管委会)、县红十字会等相关单位。
工作职责:负责医疗救(援)治和卫生防疫工作。加强医疗物资的组织调度,做好救援人员的医疗保障工作;做好洪灾及次生衍生灾害发生后疾病预防控制和卫生监督工作。完成县防指交办的其他任务。
(9)社会治安组
牵头单位:县公安局
成员单位:武警苍溪中队等相关单位。
工作职责:负责灾区社会治安维稳工作。预防和打击各类犯罪活动,预防和处置群体事件;做好灾区重要目标安全保卫工作。完成县防指交办的其他任务。
(10)宣传报道组
牵头部门:县委宣传部
成员单位:县文化旅游体育局、县水利局、县应急局等相关单位。
工作职责:统筹新闻报道工作。指导做好现场发布会、新闻发布会和新闻媒体服务管理;组织开展舆情监测研判,加强舆论管控和舆情处置。完成县防指交办的其他任务。
(11)现场指导组
督导组:县防指成立督导组,由县防指成员单位有关负责同志带队,赴一线指导督促地方开展防汛抗旱工作。
专家组:县防指成立专家组,由相关专业的技术和管理专家组成,为防汛抗旱指挥决策、应急处置等提供咨询和建议。
指挥组:当河流、水库出现超警戒水位,水利工程出现重大险情、山洪灾害、地质灾害等紧急情况需要现场指挥的,组建现场指挥组。现场指挥组由事发地党委或政府负责人、督导组负责人及专家等组成,负责组织、指导、协调现场抢险救援工作。
(12)其他工作组
牵头单位、成员单位和工作职责等根据需要调整设置。
3 预防和监测预警
3.1 预防
(1)思想准备。贯彻落实党中央国务院、省委省政府、市委市政府、县委县政府关于防灾减灾救灾工作的部署和要求,加强宣传动员,增强各级领导干部风险意识和底线思维,增强全民防御水旱灾害和自我保护意识,做好防大汛、抗大旱、抢大险、救大灾的思想准备。
(2)组织准备。建立健全组织体系,全面梳理建立领导干部责任清单、部门职责清单、隐患风险清单和一项承诺书,理顺防灾减灾救灾工作机制,完善监测预警、指挥调度、会商研判、值班值守等制度,落实防汛抗旱责任,逐级落实并公示江河、水库水电站、山洪灾害危险区、城镇等各级各类防汛抗旱责任人,加强防汛抗旱队伍建设和管理。
(3)工程准备。做好堤防、水库水电站、河道整治、涵闸、泵站等各类水工程运行准备,按要求完成防汛抗旱工程建设和水毁工程修复建设任务,对存在病险的防洪工程等实行应急除险加固,对在建的涉水工程设施和病险工程,落实安全度汛方案和工作措施。补齐排水防涝设施短板,逐步形成城市排水防涝工程体系,系统化推进城市内涝治理,保障城市运行。
(4)预案准备。有防汛抗旱任务的乡镇、县级部门、基层组织、企事业单位和社会团体要及时编制和修订防汛抗旱应急预案,并根据实际情况,制定配套的工作手册、行动方案等支撑性文件,构建上下衔接、横向协同、高效完备的应急预案体系。
(5)物资队伍储备。明确防汛抗旱物资品种、数量,足额补充和储备防汛抗旱抢险救灾物资,确保急需时可调可用。统计梳理掌握综合性抢险救援队伍以及其他专业救援力量情况,建强补齐“一主两辅”基层应急力量体系,加强抢险救援队伍培训,组织开展综合应急演练或桌面推演,有效提升救援和处置能力。
(6)通信准备。根据职能职责,分级完善监测预警网络,健全预警发布机制,畅通预警发布渠道,确保覆盖到村(社区)、到户、到人;分级检查和维护防汛抗旱通信专网和监测预警设施设备,保障其正常使用;加强水旱灾害多发易发频发地区通信网络容灾抗毁能力建设,提升基层应急通信网络设备覆盖率。
(7)风险辨识管控。各乡镇、县级有关部门要结合本地本行业(系统)实际,组织开展水旱灾害风险辨识,列出风险清单,制定并落实相关管控措施。
(8)隐患排查治理。采取群专结合、人技结合、点面结合等方式,充分运用新技术新方法,聚焦水旱灾害易发的重点区域、重点部位和重要设施,全面开展辖区内水旱灾害隐患排查。坚持开展“雨前排查、雨中巡查、雨后核查”,健全各级各部门(单位)、基层干部群众联防联动和隐患动态监管机制。对发现的隐患登记、评估、整改和处置,及时消除隐患,不能及时处置的,要落实好责任人和针对性应急措施。
(9)汛前检查。汛前,县防指组织成员单位组成工作组,由县级领导带队赴各乡镇开展汛前检查工作。检查中央、省、市、县相关部署落实、防汛减灾责任体系建立、体制机制建立完善、能力建设等情况,风险隐患排查及治理情况,防汛经费使用管理、物资储备、抢险救援力量配置、宣传培训演练、方案预案编制等应急保障落实情况,防汛重点部位和关键环节防范措施落实情况,重点防灾减灾项目推进情况,查找防汛抗旱工作存在的薄弱环节,明确责任,限时整改。
(10)组织演练。各乡镇、县级相关部门要适时组织开展针对性演练,所有水库水电站、在建涉水工程、山洪灾害危险区每年应组织专项演练。演练要突出实战性实效性,针对当地易发生的各类险情灾情,组织相关责任人、受威胁群众、抢险救援队伍等广泛参加,充分考虑夜间、降雨、涨水、交通、通信、电力中断等因素,涵盖监测预警、工程调度、转移安置、抢险处置、救援救灾等内容。
(11)宣传培训。结合实际,建立健全培训制度,定期不定期组织责任人、管理人员、成员单位人员等开展防汛抗旱培训,提高防灾减灾救灾能力和防范化解风险水平。深入推进防汛减灾宣传进企业、进农村、进社区、进学校、进家庭,全面提高公众防汛减灾意识和自救互救能力。
3.2 监测预报预警
3.2.1 监测
(1)雨水情
气象、水利为防汛抗旱监测信息的主要提供单位,按照部门职能职责,合理布设雨、水、墒情站网,加强监测,及时、准确、全面向县防指提供监测成果。县防指应向气象、水利部门适时提出要求,实时掌握天气形势和江河水势变化。水利部门定期对各类水利工程蓄水情况进行统计、汇总、审核、分析,及时、准确向县防指提供监测成果。
(2)工情
水库。根据管理权限,县水利局应向水库水电站管理单位及时下达报汛报旱任务书,水库水电站管理单位要根据报汛报旱任务书要求,上报水库水位、入库流量、出库流量、蓄水量等监测信息。在水库水位超过汛限水位时,水库管理单位应对大坝、溢洪道、放水设施等关键部位加密监测,并按照有调度管理权限的水行政主管部门批准的洪水调度方案进行调度,其工程运行状况应向有调度管理权限的水行政主管部门报告。当水库发生险情后,水库管理单位要落实专人监测,及时进行应急抢护处理并向主管部门和当地防指报告。小型以上水库发生重大险情应在险情发生后半小时内上报至县防指、县级主管部门和县应急委办公室。
堤防。各级堤防工程管理单位负责对所管辖的堤防(含护岸,下同)进行日常巡查。出现警戒水位以上洪水时,应加强监测并及时向主管部门报送运行情况。发生险情后,要落实专人监测,及时进行应急抢护处理并向主管部门和当地防指报告。大江大河堤防发生重大险情应在险情发生后半小时内上报至县防指和县应急委办公室。
其他。水闸、涵洞、渠道、泵站、渡槽等其他涉水建筑物工程管理单位在工作中要对所管辖的涉水建筑物进行日常巡查。当江河出现警戒水位以上洪水时,各级水闸、涵洞等其他涉水建筑物管理单位应加强监测,并将运行情况报主管部门。发生险情后,要落实专人监测,及时进行应急抢护处理并向主管部门和当地防指报告。
(3)堰塞湖险情
出现堰塞湖险情后,县防指应立即组织核实堰塞湖库容、上游来水量、堰塞体物质组成、堰塞体形态、淹没区及溃决洪水影响区的风险人口、重要城镇、公共或重要设施、生态环境等,按照《堰塞湖风险等级划分与应急处置技术规范》(SL/T450—2021),明确堰塞湖风险等级,由对应的牵头单位组织开展应急监测和安全监测,并将相关情况报县防指,由县防指按规定报市防指。
(4)城市内涝
县住建局要加强对县城区重要易涝点位的监测管控,指导乡镇政府驻地、重点居民安置点等重要易涝点位的监测管控,提高城镇内涝智慧化监测水平。
(5)旱情
各级防指应掌握水雨情变化、蓄水情况、农田土壤墒情和城乡供水情况,加强旱情监测。
(6)灾情
各级防指应及时收集、核实、汇总、上报洪涝和干旱灾情。
3.2.2 预报
县气象局、县水利局对雨水情加强跟踪研判分析。县气象局应在提供大范围中长期预报的同时,特别加强短期预警和短临预报时空精细化程度。县水利局要加强山洪预报。应在提供主要江河控制站预报的同时,加强中小河流洪水预报。
县防指应加强组织会商,定期不定期分析研判雨情、水情、旱情、险情和灾情趋势并及时通报。
3.2.3 预警分类分级
按照气象、水利、水文相关行业标准,结合苍溪实际,分为暴雨、干旱、江河洪水、山洪灾害风险四类预警。暴雨、江河洪水、山洪灾害风险预警从高到低分为红色、橙色、黄色、蓝色四个等级,干旱预警从高到低划分为橙色、黄色、蓝色三个等级。
3.2.4 预警发布
各级防汛抗旱指挥机构应加强预警信息管理,建立预警信息共享发布机制,实现预警信息的权威统一发布,提高预警信息发布的时效性和覆盖面。
(1)发布权限。县气象局、县水利局负责确定预警区域、级别,报县防指,并按相应权限发布。县气象局负责发布暴雨、干旱预警,县水利局负责发布山洪灾害气象风险预警、江河洪水气象风险预警。
(2)发布方式。抓紧畅通信息传递“最后一公里”,提高信息覆盖面和时效性。预警信息的发布和调整要及时通过广播、电视、手机、报刊、通信与信息网络、警报器、宣传车、大喇叭或组织人员逐户通知等方式进行宣传。
(3)预警对象。预警发布单位根据预警级别明确预警对象,其中对学校、医院、旅游景区、在建工地、移民安置点、山洪灾害危险区、河心洲岛(坝)等特殊场所以及老、幼、病、残、孕等特殊人群应当由行业主管部门或所属乡镇人民政府进行针对性预警信息发送。
(4)信息反馈。按照分级负责、归口管理的方式,各级各有关部门(单位)接收到预警信息后,应立即组织部署防范应对工作,并向有关部门报送情况。
(5)信息通道保障。县委宣传部、县文化旅游体育局、县经信局(苍溪经开区管委会)、通信基础运营商等单位要做好预警信息发布通道保障工作。
3.3 预警响应
3.3.1 响应措施
预警信息发布后,各乡镇、县级相关部门(单位)要根据预警级别和实际情况,按照分级负责、属地为主、层级响应、协调联动的原则,采取相应防范应对措施。
(1)密切关注雨情、水情、旱情,提高监测频次,滚动更新预报,及时发布传递预警信息。
(2)组织相关部门、单位和专家召开会商调度会,研判防汛抗旱形势,及时发送研判成果。
(3)按照“三个避让”“三个紧急撤离”要求,坚决疏散、转移易受威胁人员并做好安置和安全管理工作。
(4)视情对预警地区防汛抗旱工作进行督促和指导。
(5)加强水库水电站、堤防、山洪灾害危险区、在建工地、移民安置点、河心洲岛(坝)等部位和区域的巡查值守,及时报送相关信息。
(6)关闭或限制使用易受洪涝灾害危害的场所,控制或限制容易导致危害扩大的公共场所活动,受威胁企业停工停产撤人,转移重要物资,加强对重大危险源的管控。
(7)组织相关责任人、专业抢险救援队伍和负有特定职责的人员进入待命状态,动员后备人员做好准备,视情预置有关队伍、装备、物资等资源。调集抢险救援所需物资、设备、工具,准备转移安置场所。
(8)媒体单位优先做好预警信息传播和应急宣传工作,视情不间断滚动播报预警和雨水情信息。
(9)各级防指领导根据需要坐镇指挥防范应对工作,防指和成员单位加强值班值守和信息报送。
3.3.2县防指预警响应
县气象台发布暴雨红色、橙色、黄色预警,或连续2天发布暴雨蓝色预警,按本预案启动相应级别防汛抗旱应急响应,采取相应响应行动。当县气象台发布暴雨蓝色预警后,县防指和相关成员单位采取以下响应措施:
(1)风险研判。相关成员单位对灾害风险进行会商研判,结果及时共享并报送县防指。
(2)指挥调度。县领导组织会商调度时,相关成员单位参加并通报情况或安排部署本行业领域防灾减灾工作。县领导未组织时,由县水利局牵头组织会商,相关成员单位参加。根据需要,相关成员单位分别组织本行业系统调度。
(3)安排部署。向相关地区和部门传达国家和省、市、县领导相关指示批示精神,部署防范应对工作,提出工作要求,跟踪工作落实情况,并按要求及时报送情况。
(4)督促指导。县防指视情派工作组赴预警地区,督促指导地方做好转移避险、“关停限”、工程调度、排查巡查、值班值守、物资队伍准备等防范应对工作。
(5)应急准备。视情通知提醒相关应急队伍和人员进入待命状态,检查准备救援救灾物资装备,并确保其处于良好状态,随时可以投入正常使用。
(6)值班值守。县防指和相关成员单位要加强值班值守,按职责分工动态了解掌握相关信息,并及时向县防指报告。
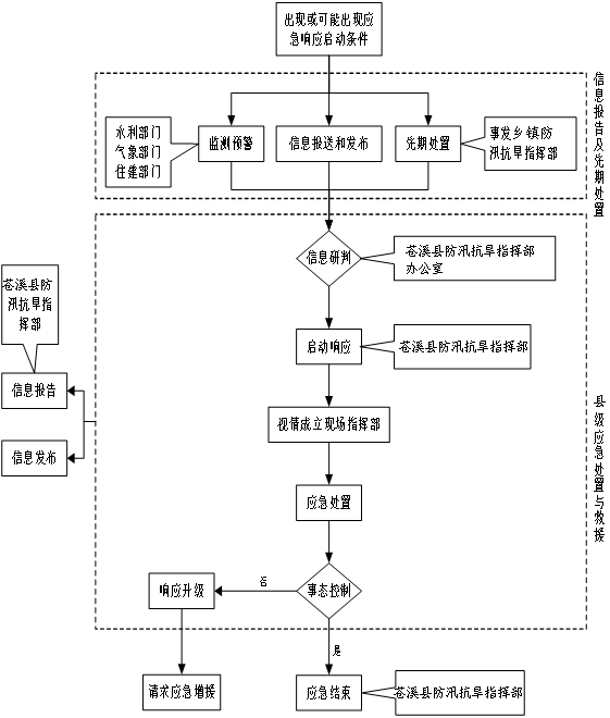
4 应急响应
县级应急响应分为防汛应急响应和抗旱应急响应。县防指适时启动、终止对应级别应急响应。苍溪县防汛抗旱应急响应流程图见附件2。
4.1 先期处置
建立健全统一指挥、有序高效的应急联动和快速反应机制。灾害发生后,发生地党委政府应加强组织领导,防指及时启动应急响应,视情成立现场指挥部,摸排掌握险情灾情,迅速调集专业队伍,科学开展现场处置,组织干部群众开展自救互救工作,做好信息发布和舆情引导,按规定及时向上级防指报告。
4.2 启动、终止条件及响应行动
4.2.1 一级应急响应
(1)启动条件和程序
当出现或可能出现下列情形之一,县防指相关成员单位根据影响程度、范围和发展趋势,及时向县防办提出启动应急响应建议,县防办组织综合会商研判后提出意见,由县防指指挥长报请县防指总指挥同意后启动一级应急响应。
①暴雨预警:县气象台连续2天发布红色预警。
②江河洪水重现期:嘉陵江、东河、插江等主要河流中的一条河流发生洪峰或洪量重现期大于100年一遇的洪水;两条主要河流同时发生洪峰或洪量重现期大于50年、小于等于100年一遇的洪水。
③城市内涝:县主城区或2座以上其他乡镇中心场镇道路积水深度大范围在1米以上,县城区大面积停电停水停气、交通中断或瘫痪,城区运行受到严重影响。(以上含本数,以下不含本数,下同)
④水库(水电站):水中型水库、重点小(1)型水库发生垮坝;两座及以上中型、重点小(1)型水库出现可能导致垮坝的险情;水电站发生垮坝。
⑤堰塞湖:出现按《堰塞湖风险等级划分与应急处置技术规范》(SL/T450—2021)划分的I级风险堰塞湖。
⑥堤防:Ⅳ级、Ⅴ级堤防同时出现重大险情或发生垮塌,造成人民生命财产重大损失。
⑦干旱:发生特别重大干旱灾害(干旱灾害分级标准见附件3,下同)。
⑧其他:其他需要启动一级应急响应的情况。
(2)响应行动
①安排部署。县防指总指挥组织指挥全县水旱灾害应对工作。根据需要,县防指总指挥组织召开全县紧急动员会,部署各地及成员单位做好防汛抗旱救灾有关工作,督促指导采取转移避险、“关停限”等措施;召开会商调度会,了解掌握汛情、险情、旱情、灾情及重要工情等信息,研判防汛抗旱形势。
②组织指挥。县防指总指挥或指挥长、总指挥安排的其他县领导等带领工作组赶赴灾害现场靠前指挥,与受灾乡镇组建前方联合指挥部。多地受灾特别严重时,成立前方分指挥部。县防指总指挥或总指挥安排的其他县领导坐镇县防汛抗旱指挥中心指挥。
③专项工作组。县防指启动专项工作组,按职责全力开展抢险救援、技术保障、通信电力交通保障、灾情评估、群众安置、医疗救治、社会治安等防汛抗旱抢险救灾工作。
④信息报送。县防办迅速将应急响应启动及防汛抗旱救灾等情况报告市防指、县委、县政府,并通报县防指各成员单位。视情请求市上在专家、队伍、装备和物资等方面给予支援。
⑤值班值守。县防指强化值班,加强协调、督导事关全局的防汛抗旱调度,并与相关区域加强视频会商,及时作出针对性安排布置。县防指各成员及联络员保持通信畅通,相关成员单位派联络员到县防汛抗旱指挥中心值班,负责协调、处理、报告本单位相关工作。
⑥舆论宣传。组织新闻媒体和基础电信运营商及时播报发布暴雨、洪水和指挥部公告等信息。组织协调新闻媒体赴灾区有序采访防汛抗旱救灾工作,并做好正面宣传报道,正向引导舆论。县防指收集舆情信息,适时召开新闻发布会,回应关切。
⑦社会动员。动员社会各方面力量全力做好防大汛、抢大险、救大灾工作,发动群众开展自救互救工作。动员引导市民尽量减少外出,要求受影响区域各机关、企事业单位、广大群众采取紧急避险措施,除抢险救援、应急处置和民生保障等工作外,全面实行停工、停课、停产、停业、停运。
(3)响应终止。当灾害已经或趋于结束时,由县防办提出响应终止建议,县防指总指挥批准。响应结束后,有关部门和单位按职责分工,核实灾害损失和人员伤亡情况,并协助指导地方做好灾后恢复重建工作。
4.2.2 二级应急响应
(1)启动条件和程序
当出现或可能出现下列情形之一,县防指相关成员单位根据影响程度、范围和发展趋势,及时向县防办提出启动应急响应建议,县防办组织综合会商研判后提出意见,由县防指指挥长批准后启动二级应急响应。
①暴雨预警:县气象台发布红色预警或过去24小时有至少四分之一乡镇出现了250毫米以上降雨,当日又发布橙色预警。
②江河洪水重现期:嘉陵江、东河、插江等主要河流中一条河流发生洪峰或洪量重现期大于50年、小于等于100年一遇的洪水;两条主要河流同时发生洪峰或洪量重现期大于20年、小于等于50年一遇的洪水。
③城市内涝:县主城区或2座以上其他乡镇中心场镇道路积水深度部分在1米以上,县城区大面积停电停水停气、交通中断或瘫痪,城区运行受到较严重影响。
④水库(水电站):中型、重点小(1)型水库出现可能导致垮坝的险情;一般小(1)型水库、重点小(2)型水库发生垮坝;两座及以上一般小(1)型水库、重点小(2)型水库出现可能导致垮坝的险情;水电站出现重大险情。
⑤堰塞湖:出现按《堰塞湖风险等级划分与应急处置技术规范》(SL/T450—2021)划分的Ⅱ级风险堰塞湖。
⑥堤防:Ⅳ级堤防出现重大险情或发生垮塌,严重影响或威胁县城区重要设施、交通干线及下游人民群众生命财产安全;两处及以上Ⅴ级堤防出现重大险情或发生垮塌,严重影响或威胁人民群众生命财产安全。
⑦干旱:发生重大干旱灾害。
⑧其他:其他需要启动二级应急响应的情况。
(2)响应行动
①安排部署。县防指指挥长指挥全县水旱灾害应对处置工作。根据需要,主持召开会商调度会,了解掌握汛情、险情、旱情、灾情及重要工情等信息,研判防汛抗旱形势,部署有关乡镇及成员单位做好防汛抗旱救灾有关工作,督促指导采取转移避险、“关停限”等措施。
②组织指挥。县防指指挥长、常务副指挥长或其他副指挥长带领工作组赶赴灾害现场靠前指挥,视情与受灾乡镇组建前方联合指挥部。多地受灾特别严重时,成立前方分指挥部。县防指指挥长或指挥长安排的其他常务副指挥长、副指挥长坐镇县防汛抗旱指挥中心指挥。
③专项工作组。县防指启动专项工作组,按职责全力开展抢险救援、技术保障、通信电力交通保障、灾情评估、群众安置、医疗救治、社会治安等防汛抗旱抢险救灾工作。
④信息报送。县防办迅速将应急响应启动及防汛抗旱救灾等情况报告市防指、县委、县政府,并通报县防指各成员单位。
⑤值班值守。县防指强化值班,加强协调、督导事关全局的防汛抗旱调度,并与相关区域加强视频会商,及时作出针对性安排布置。县防指各成员及联络员保持通信畅通,相关成员单位派联络员到县防汛抗旱指挥中心值班,负责协调、处理、报告本单位相关工作。
⑥舆论宣传。组织新闻媒体及时播报发布暴雨、洪水和指挥部公告等信息。视情组织协调新闻媒体赴灾区有序采访防汛抗旱救灾工作,并做好正面宣传报道,正向引导舆论。县防指收集舆情信息,适时召开新闻发布会,回应关切。
⑦社会动员。动员社会各方面力量参与防汛救灾,引导群众开展自救互救工作。建议市民尽量减少外出,并通过媒体及时发布防范应对提示信息,视灾情发展变化情况,果断采取停工、停课、停产、停业、停运等避险措施。
(3)响应终止
当灾害已经或趋于结束时,由县防办提出响应终止建议,县防指指挥长批准。响应结束后,有关部门和单位按职责分工,核实灾害损失和人员伤亡情况,并协助指导地方做好灾后恢复重建工作。
4.2.3 三级应急响应
(1)启动条件和程序
当出现或可能出现下列情形之一,县防指相关成员单位根据影响程度、范围和发展趋势,及时向县防办提出启动应急响应建议,县防办组织综合会商研判后提出意见,由县防指常务副指挥长批准后启动三级应急响应。
①暴雨预警:县气象台发布橙色预警或过去24小时有至少四分之一乡镇出现了100毫米以上降雨,当日又发布黄色预警。
②江河洪水重现期:嘉陵江、东河、插江等主要河流中一条河流发生洪峰或洪量重现期大于20年、小于等于50年一遇的洪水;两条主要河流同时发生洪峰或洪量重现期大于10年、小于等于20年一遇的洪水。
③城市内涝:县主城区大范围在0.5米以上、1米以下,或1座以上其他乡镇场镇,或两座以上较大居民聚居点积水深度1米以上,县城区部分区域停电停水停气、交通中断或瘫痪,城市运行受到较大影响。
④水库:一般小(1)型水库、重点小(2)型水库出现可能导致垮坝的险情;一般小(2)型水库发生垮坝;两座及以上一般小(2)型水库出现可能导致垮坝的险情。
⑤堰塞湖:出现按《堰塞湖风险等级划分与应急处置技术规范》(SL/T450—2021)划分的Ⅲ级风险堰塞湖。
⑥堤防:Ⅴ级堤防出现重大险情或发生垮塌,严重影响或威胁人民群众生命财产安全。
⑦干旱:发生较大干旱灾害。
⑧其他:其他需要启动三级应急响应的情况。
(2)响应行动
①安排部署。县防指常务副指挥长主持召开会商调度会,了解掌握汛情、险情、旱情、灾情及重要工情等信息,研判防汛抗旱形势,部署防汛抗旱救灾有关工作,督促指导采取转移避险、“关停限”等措施。
②组织指挥。县防指及时派出工作组、专家组赴一线督促指导防汛抗旱救灾工作。县防指常务副指挥长或者常务副指挥长安排的副指挥长坐镇县防汛抗旱指挥中心指挥。
③专项工作组。视情启动部分专项工作组。县防指成员单位各司其职,全力开展抗灾救灾工作。
④信息报送。县防指迅速将应急响应启动及防汛抗旱救灾等情况报告市防指、县委、县政府,并通报县防指各成员单位。县防指各成员单位及时向县防办报送本部门相关工作情况。
⑤值班值守。县防指强化值班,加强协调、督导事关全局的防汛抗旱调度,并与相关区域加强视频会商,及时作出针对性安排布置。相关成员单位的联络员与县防汛抗旱指挥中心保持电话畅通。
⑥舆论宣传。县防指根据需要及时发布相关信息,相关成员单位协调指导媒体做好防汛抗旱救灾工作报道,加强舆论引导工作。
(3)响应终止
当灾害已经或趋于结束时,由县防办提出响应终止建议,县防指常务副指挥长批准。响应结束后,有关部门和单位按职责分工,核实灾害损失和人员伤亡情况,并协助指导地方做好灾后恢复重建工作。
4.2.4 四级应急响应
(1)启动条件和程序
当出现或可能出现下列情形之一,县防指相关成员单位根据影响程度、范围和发展趋势,及时向县防办提出启动应急响应建议,县防办组织综合会商研判后提出意见,由县防指副指挥长批准后启动四级应急响应。
①暴雨预警:县气象台发布黄色预警或过去24小时有至少四分之一乡镇出现了50毫米以上降雨,当日又发布蓝色预警。
②江河洪水重现期:嘉陵江、东河、插江等主要河流中一条河流发生洪峰或洪量重现期大于10年、小于等于20年一遇的洪水;两条主要河流同时发生洪峰或洪量重现期大于5年、小于等于10年一遇的洪水。
③城市内涝:县主城区或1座以上其他乡镇道路积水深度大范围在0.3米以上、0.5米以下,或1座以上较大居民聚居点积水1米以上,县城部分区域停电停水停气、交通中断或瘫痪,城市运行受到影响。
④水库:一般小(2)型水库出现可能导致垮坝的险情。
⑤堰塞湖:出现按《堰塞湖风险等级划分与应急处置技术规范》(SL/T450—2021)划分的Ⅳ级风险堰塞湖。
⑥护岸:出现重大险情或发生垮塌,严重影响山地或河谷地区村庄、居民集中点、易地扶贫搬迁安置点人民群众生命财产安全。
⑦干旱:发生一般干旱灾害。
⑧其他:其他需要启动四级应急响应的情况。
(2)响应行动
①安排部署。县防指副指挥长主持召开会商调度会,了解掌握汛情、险情、旱情、灾情及重要工情等信息,研判防汛抗旱形势,部署防汛抗旱救灾有关工作,督促指导采取转移避险、“关停限”等措施。
②组织指挥。县防指根据需要及时派出工作组、专家组赴一线督促指导防汛抗旱救灾工作,县防指成员单位按职责分工加强应对工作。县防指副指挥长坐镇县防汛抗旱指挥中心指挥。
③信息报送。县防指迅速将应急响应启动及防汛抗旱救灾等情况报告市防指、县委、县政府,并通报县防指各成员单位。县防指各成员单位及时向县防办报送本部门相关工作情况。
④值班值守。县防指强化值班,加强协调、督导事关全局的防汛抗旱调度,并与相关区域加强视频会商,及时作出针对性安排布置。
⑤舆论宣传。县防指根据需要及时发布相关信息,相关成员单位协调指导媒体做好防汛抗旱救灾工作报道,加强舆论引导工作。
(3)响应终止
当灾害已经或趋于结束时,由县防办提出响应终止建议,县防指副指挥长批准。响应结束后,有关部门和单位按职责分工,核实灾害损失和人员伤亡情况,并协助指导地方做好灾后恢复重建工作。
苍溪县防汛抗旱应急响应启动条件汇总表见附件4。
4.3 信息报送和发布
4.3.1 报送
防汛抗旱信息的报送和处理由防指统一负责,应及时快捷、真实全面。汛情、旱情、工情、险情、灾情等相关信息实行分级上报、归口处理、同级共享,并加强数据核对。遇突发险情、灾情,按照《四川省洪涝突发险情灾情报告暂行规定》要求,各级防汛抗旱指挥部要及时掌握,做好首报和续报工作,原则上应以书面形式逐级上报,在发生突发重大险情灾情的紧急情况下,可在向上一级防指报送的同时越一级报告。
接到汛情、旱情、险情、灾情等水旱灾害突发事件信息后,各级防指要立即如实向同级人民政府及上级防指报告,最迟不得超过1小时,不得迟报、谎报、瞒报和漏报,同时应通报可能受影响的地区、部门和企业等。
发生突发重大险情灾情时,所在地的乡镇及以上防指应在接报险情灾情30分钟内以电话或其他方式报告,并以书面形式及时补报。大江大河干流重要堤防、涵闸等及大型和防洪重点中型水库发生的重大险情,应在险情发生后立即报告县防办。
县防办接到重大汛情、旱情、险情和突发灾情报告后,应在30分钟内以电话或其他方式报告市防指、县委、县政府,并做好续报。
4.3.2 发布
按照属地为主、分级负责、归口发布的方式做好信息发布工作。各级防指统一负责信息发布工作,及时准确、客观全面发布权威信息。重要信息发布前,须征求县委宣传部意见。县委宣传部根据实际情况对发布时机、发布方式等提出建议,对发布材料、问答口径等进行指导,并组织新闻媒体采访报道,做好媒体服务管理工作。
县委、县政府的重大决策、部署,全县性或重大的汛情、旱情及防汛抗旱动态等,由县防指统一审核和发布。在县级以上媒体公开报道的稿件,县水利局、县应急局按照职责分工分别审核相关内容。涉及人员伤亡、经济损失等水旱灾害损失的,由县水利局、县应急局会同有关部门共同审核。
4.4 舆论引导
加强舆论引导,深入报道各级党委政府决策部署和抢险救灾工作进展,大力宣传先进模范和典型事迹,营造全社会关心、重视、支持、参与防汛抗旱工作的良好氛围。
5 应急保障
各级防指要从人员、物资、技术等方面着力提高应对水旱灾害的应急保障能力。
5.1 通信与信息保障
通信管理部门要负责组织、协调、督促和指导各基础电信运营企业,优先保障防汛抗旱指挥系统和气象、水利、应急等重要机构的通信网络畅通,利用公用通信网发布应急预警短信。
在紧急情况下,应充分利用广播、电视等新媒体和各种通讯方式以及人民防空警报系统发布预警信息,通知群众快速撤离,保护人民生命财产安全。
5.2 应急装备保障
各级防指应储备满足抢险所需的常规抢险机械、抗旱设备、物资和救生器材。
5.3 应急抢险队伍保障
各级防指要组建本级专业防汛抗旱抢险队伍,组建水旱灾害防御、抢险救援专家库,统筹组织社会力量积极参与救援工作。
需要武警部队和综合性消防救援队伍参与防汛抗旱抢险时,县人民政府及县防指要及时商请相关部门按《军队参加抢险救灾条例》及有关规定组织实施。其中,县防指负责联系武警苍溪中队、县消防救援大队和综合性应急救援队伍参与防汛抗旱抢险。
5.4 供电保障
电网企业负责抗洪抢险、抢排渍涝、抗旱救灾等方面的供电需要和应急救援现场的临时供电保障。
5.5 交通运输保障
县交运局、县公安局按照职责分工,强化重大生命线工程安全保障,制定相应的应急预案,优先保证防汛抢险人员和防汛抗旱物资的运输,适时实行交通管制,密切配合做好交通运输保障工作。
5.6 医疗卫生保障
县卫生健康局负责组织开展水旱灾区卫生防疫和医疗救治工作。
5.7 治安保障
县公安局、武警苍溪中队主要负责做好水旱灾区的治安管理工作,依法严厉打击破坏防汛抗旱救灾行动和工程设施安全的行为,保证抗灾救灾工作的顺利进行;负责组织搞好防汛抢险、分洪爆破的戒严、警卫工作,维护灾区的社会治安秩序。
5.8 物资保障
防汛抗旱物资管理坚持“定额储备、专业管理、保障急需” 原则。防汛抗旱物资仓库在汛期和干旱期应随时做好物资调运的各项准备工作,按调令保证防汛抗旱物资快速、安全地运达指定地点。
当储备物资消耗过多,不能满足抗洪抢险和抗旱救灾需要时,县防指应联系有资质的厂家紧急生产、调运所需物资,必要时可向社会公开征集。
5.9 资金保障
根据《中华人民共和国防洪法》《中华人民共和国抗旱条例》有关规定,建立和完善与经济社会发展水平以及防汛抗旱要求相适应的资金投入机制,在本级财政预算中安排必要资金,保障防汛抗旱投入。
5.10 技术保障
各级防指在防汛抗旱应急工作中要应用先进的工程抢险技术和现代化的信息技术,逐步建立完善防汛抗旱指挥系统和专家库系统,加强防汛抗旱基础性研究,提高防汛抗旱技术能力和水平。
6 后期处置
6.1 物资补充和工程修复
针对当年产生的防汛抗旱抢险物资消耗,各级防指应分级筹措、及时补充防汛抗旱抢险物资。
对影响当年防洪安全和城乡供水安全的水毁工程,应组织突击施工,尽快修复。
遭到毁坏的交通、电力、通信、水文以及防汛专用通信等基础设施,有关部门应按照职责,尽快组织修复,确保及时投入正常运用。
6.2 调查评估
县防指应组织对造成较大损失或典型性的水旱灾害事件进行调查评估,复盘分析防范应对处置工作,总结经验教训,制定改进措施。
各级防指应实行防汛抗旱工作年度评估制度,着重对各个方面和环节进行定性定量总结、分析、评估,总结经验,查找不足,分析原因,提出改进完善建议,以进一步做好防汛抗旱工作。
6.3 奖励
对在防汛抗旱工作中贡献突出的单位和个人,按照有关规定给予表彰和奖励。
6.4 约谈整改
对于防汛抗旱工作不力的,县防指及时予以提醒,必要时约谈乡镇人民政府与县级有关部门主要负责人,并督促整改到位。
6.5 责任追究
对防汛抗旱工作中责任不落实、发现隐患不作为、处置不得力、敷衍塞责等失职渎职行为,依据有关法律法规纪律严肃追究部门属地责任、监管责任、管理主体责任,严肃追究领导责任和监管责任。因玩忽职守造成损失的,依据有关法律法规纪律,严肃追究当事人的责任,并依法予以处理。
7 附则
7.1 预案演练
各级防指及有关单位应制定应急演练计划,根据实际情况采取实战演练、桌面推演等方式,每2年至少组织一次各方人员广泛参与、处置联动性强、形式多样、安全高效的应急演练,主要负责人应视情参加。
7.2 预案管理与更新
预案实施后,县防指会同有关部门组织预案学习、宣传和培训,并根据实际情况适时组织评估和修订。
有防汛抗旱任务的乡镇、村(社区)应急预案应当经本级主要负责人或分管负责人签发,报上一级防汛抗旱指挥机构备案。部门防汛抗旱应急预案经部门主要负责同志批准后印发实施,报县人民政府备案,并抄送县防指。
各级各有关部门(单位)要强化防汛抗旱应急预案衔接,按照“下级预案服从上级预案,专项、部门预案服从总体预案,预案之间不得相互矛盾”的原则做好预案编修工作。
7.3 名词术语定义
主要江河:嘉陵江、东河、插江。
其他中心场镇:元坝、歧坪、东溪、文昌、龙山、龙王、三川、五龙、东青。
其他场镇:除中心场镇以外的建制乡镇。
较大规模聚居点:原拆并乡镇场镇或相当于原拆并乡镇规模的聚居点。
堤防:指沿河、渠、湖或行洪区、分洪区的边缘修筑的挡水建筑物。苍溪县堤防分类标准见附件5。
水库:水库是在河道、山谷、低洼地及地下透水层修建的挡水坝、堤堰或隔水墙,形成蓄集水量的人工湖,是调蓄洪水的主要工程措施之一。水库一般由挡水建筑物、泄水建筑物、输水建筑物三部分组成;水库按其所在位置和形成条件,通常分为山谷水库、平原水库和地下水库三种类型;根据工程规模、保护范围和重要程度,按照水利水电工程等级划分及洪水标准(SL252—2017),水库工程分为五个等别;水库名目见附件6。
三个避让:主动避让,提前避让,预防避让。
三个紧急撤离:危险隐患点发生强降雨时要紧急撤离,接到暴雨蓝色及以上预警或预警信号要立即组织高风险区域群众紧急撤离,出现险情征兆或对险情不能准确研判时要紧急撤离。
三单一书:领导干部责任清单、部门职责清单、隐患风险清单和一项承诺书。
两书一函:约谈通知书、整改通知书和提醒敦促函。
四不两直:不发通知、不打招呼、不听汇报、不用陪同接待、直奔基层、直插现场。
7.4 预案解释
本预案由县防办负责解释。
7.5 实施时间
本预案自印发之日起实施,《苍溪县人民政府办公室关于印发苍溪县防汛抗旱应急预案(2021年修订)的通知》(苍府办函〔2021〕35号)同时废止。
附件:1.苍溪县防汛抗旱组织指挥体系图
2.苍溪县防汛抗旱应急响应流程图
3.苍溪县干旱灾害分级标准
4.苍溪县防汛抗旱应急响应启动条件汇总表
5.苍溪县堤防分类标准
6.苍溪县水库名目表
附件1
苍溪县防汛抗旱组织指挥体系图
附件2
苍溪县防汛抗旱应急响应流程图
附件3
苍溪县干旱灾害分级标准
附件4
苍溪县防汛抗旱应急响应启动条件汇总表
|
|
应急响应分级 |
||||
|
一级响应 |
二级响应 |
三级响应 |
四级响应 |
||
|
暴雨预警 |
县气象台连续2天发布红色预警。 |
县气象台发布红色预警或连续2天发布橙色预警。 |
县气象台发布橙色预警或连续 2天发布黄色预警。 |
县气象台发布黄色预警或连续2天发布蓝色预警。 |
|
|
江河洪水重现期 |
嘉陵江、东河、插江等主要河流中的一条河流发生洪峰或洪量重现期大于100年一遇的洪水;两条主要河流同时发生洪峰或洪量重现期大于50年、小于等于100年一遇的洪水。 |
嘉陵江、东河、插江等主要河流中一条河流发生洪峰或洪量重现期大于50年、小于等于100年一遇的洪水;两条主要河流同时发生洪峰或洪量重现期大于20年、小于等于50年一遇的洪水。 |
嘉陵江、东河、插江等主要河流中一条河流发生洪峰或洪量重现期大于20年、小于等于50年一遇的洪水;两条主要河流同时发生洪峰或洪量重现期大于10年、小于等于20年一遇的洪水。 |
嘉陵江、东河、插江等主要河流中一条河流发生洪峰或洪量重现期大于10年、小于等于20年一遇的洪水;两条主要河流同时发生洪峰或洪量重现期大于5年、小于等于10年一遇的洪水。 |
|
|
险情 |
城市内涝 |
县主城区或2座以上其他乡镇中心场镇道路积水深度大范围在1米以上,城区大面积停电停水停气、交通中断或瘫痪,城区运行受到严重影响。(以上含本数,以下不含本数,下同) |
县主城区或2座以上其他乡镇中心场镇道路积水深度大范围在1米以上,县城区大面积停电停水停气、交通中断或瘫痪,城区运行受到严重影响。 |
县主城区大范围在0.5米以上、1米以下,或1座以上其他乡镇场镇,或两座以上较大居民聚居点积水深度1米以上,城市部分区域停电停水停气、交通中断或瘫痪,城市运行受到较大影响。 |
县主城区或1座以上其他乡镇道路积水深度大范围在0.3米以上、0.5米以下,或1座以上较大居民聚居点积水1米以上,县城部分区域停电停水停气、交通中断或瘫痪,城市运行受到影响。 |
|
水库(水电站) |
中型水库、重点小(1)型水库发生垮坝;两座及以上中型、重点小(1)型水库出现可能导致垮坝的险情;水电站发生垮坝。 |
中型、重点小(1)型水库出现可能导致垮坝的险情;一般小(1)型水库、重点小(2)型水库发生垮坝;两座及以上一般小(1)型水库、重点小(2)型水库出现可能导致垮坝的险情;水电站出现重大险情。 |
一般小(1)型水库、重点小(2)型水库出现可能导致垮坝的险情;一般小(2)型水库发生垮坝;两座及以上一般小(2)型水库出现可能导致垮坝的险情。 |
一般小(2)型水库出现可能导致垮坝的险情。 |
|
|
堰塞湖 |
出现按《堰塞湖风险等级划分与应急处置技术规范》(SL/T450—2021)划分的I级风险堰塞湖。 |
出现按《堰塞湖风险等级划分与应急处置技术规范》(SL/T450—2021)划分的Ⅱ级风险堰塞湖。 |
出现按《堰塞湖风险等级划分与应急处置技术规范》(SL/T450—2021)划分的Ⅲ级风险堰塞湖。 |
出现按《堰塞湖风险等级划分与应急处置技术规范》(SL/T450—2021)划分的Ⅳ级风险堰塞湖。 |
|
|
堤防(护岸) |
Ⅳ级、Ⅴ级堤防同时出现重大险情或发生垮塌,造成人民生命财产重大损失。 |
Ⅳ级堤防出现重大险情或发生垮塌,严重影响或威胁县城区重要设施、交通干线及下游人民群众生命财产安全;两处及以上Ⅴ级堤防出现重大险情或发生垮塌,严重影响或威胁人民群众生命财产安全。 |
Ⅴ级堤防出现重大险情或发生垮塌,严重影响或威胁人民群众生命财产安全。 |
护岸出现重大险情或发生垮塌,严重影响山地或河谷地区村庄、居民集中点、易地扶贫搬迁安置点人民群众生命财产安全。 |
|
|
干旱 |
发生特别重大干旱灾害。 |
发生重大干旱灾害。 |
发生较大干旱灾害。 |
发生一般干旱灾害。 |
|
|
其他 |
其他需要启动一级应急响应的情况。 |
其他需要启动二级应急响应的情况。 |
其他需要启动三级应急响应的情况。 |
其他需要启动四级应急响应的情况。 |
|
注:当出现或可能出现以上条件之一,对影响程度、范围和发展趋势经综合会商研判后,启动相应级别应急响应。
附件5
苍溪县堤防分类标准
|
工程名称 |
自然岸线长度 (km) |
岸线总长度 (km) |
防洪堤防达标 长度(km) |
堤防总长度 (km) |
堤防等级 |
|
嘉陵江赵公坝堤防(2012) |
130.03 |
142.20 |
2.16 |
2.16 |
Ⅳ |
|
嘉陵江杜里坝堤防(2010) |
132.19 |
142.20 |
4.57 |
4.57 |
Ⅳ |
|
嘉陵江石家坝堤防(2018) |
128.44 |
142.20 |
1.59 |
1.59 |
Ⅳ |
|
嘉陵江肖家坝堤防(2010) |
132.19 |
142.20 |
1.02 |
1.02 |
Ⅳ |
|
老城滨江堤防(1993—2012) |
137.78 |
142.20 |
4.42 |
4.42 |
Ⅳ |
|
嘉陵江百利堤防(2021) |
122.28 |
142.20 |
6.16 |
6.16 |
Ⅳ |
|
东河东溪堤防(2015) |
215.12 |
219.80 |
0.83 |
0.83 |
Ⅴ |
|
东河漓江堤防(2015) |
215.12 |
219.80 |
1.24 |
1.24 |
Ⅴ |
|
东河歧坪堤防(2015) |
215.12 |
219.80 |
2.61 |
2.61 |
Ⅴ |
|
东河石灶堤防(2016) |
213.70 |
219.80 |
1.42 |
1.42 |
Ⅴ |
|
东河桥溪堤防(2021) |
212.68 |
219.80 |
1.02 |
1.02 |
Ⅴ |
|
东河元坝堤防(2021) |
211.33 |
219.80 |
1.35 |
1.35 |
Ⅴ |
|
插江龙王堤防(2021) |
209.90 |
219.80 |
1.43 |
1.43 |
Ⅴ |
|
2014年 |
349.83 |
362.00 |
12.17 |
12.17 |
|
|
2015年 |
345.15 |
362.00 |
16.85 |
16.85 |
|
|
2016年 |
343.73 |
362.00 |
18.27 |
18.27 |
|
|
2017年 |
343.73 |
362.00 |
18.27 |
18.27 |
|
|
2018年 |
342.14 |
362.00 |
19.86 |
19.86 |
|
|
2019年 |
342.14 |
362.00 |
19.86 |
19.86 |
|
|
2020年 |
342.14 |
362.00 |
19.86 |
19.86 |
|
|
2021年 |
332.18 |
362.00 |
29.82 |
29.82 |
|
|
嘉陵江苍溪段长71.1公里,东河苍溪段长110.4公里。岸线长度=河流长度×2:自然岸线长度=岸线长度-堤防总长度。 |
|||||
附件6
苍溪县水库名目表
|
序号 |
水库名称 |
所在地 |
水库管理单位名称 |
所在 水系 |
主坝 坝型 |
最大 坝高(米) |
总库容 (万立方米) |
水库规模 |
类型 |
|
|
1 |
闫家沟水库 |
白鹤乡 |
伏公社区 |
苍溪县闫家沟水库事务中心 |
嘉陵江 |
粘土心墙坝 |
42.46 |
1060 |
中型 |
重点型 |
|
2 |
白桥水库 |
白桥镇 |
龙门村 |
苍溪县白鹭湖事务中心 |
嘉陵江 |
均质土坝 |
33.58 |
1440 |
中型 |
重点型 |
|
3 |
文家角水库 |
元坝镇 |
文江村 |
苍溪县文家角水库事务中心 |
嘉陵江 |
粘土心墙坝 |
48 |
1031 |
中型 |
重点型 |
|
4 |
大洋沟水库 |
陵江镇 |
大洋村 |
苍溪县大洋沟水库事务中心 |
沙溪浩 |
泥岩心墙坝 |
46 |
978 |
小(1)型 |
重点型 |
|
5 |
长征水库 |
漓江镇 |
龙垭村 |
苍溪县长征水库管理站 |
东河 |
均质土坝 |
22.5 |
110 |
小(1)型 |
一般型 |
|
6 |
富强水库 |
龙王镇 |
石牛村 |
苍溪县富强水库管理站 |
插江 |
均质土坝 |
17 |
101.5 |
小(1)型 |
重点型 |
|
7 |
四槽沟水库 |
河地镇 |
地干村 |
苍溪县四槽沟水库管理站 |
嘉陵江 |
均质土坝 |
28.94 |
304.5 |
小(1)型 |
重点型 |
|
8 |
双丰水库 |
亭子镇 |
水池村 |
苍溪县双丰水库管理站 |
白桥河 |
均质土坝 |
25 |
424 |
小(1)型 |
重点型 |
|
9 |
嘉陵水库 |
百利镇 |
金陵村 |
苍溪县嘉陵水库管理站 |
嘉陵江 |
均质土坝 |
17 |
110.81 |
小(1)型 |
重点型 |
|
10 |
三岔沟水库 |
元坝镇 |
三岔村 |
苍溪县三岔沟水库管理站 |
东河 |
均质土坝 |
37.3 |
118.3 |
小(1)型 |
重点型 |
|
11 |
韩家湾水库 |
元坝镇 |
大坪村 |
苍溪县韩家湾水库管理站 |
东河 |
均质土坝 |
30.5 |
112.08 |
小(1)型 |
重点型 |
|
12 |
铧厂沟水库 |
岳东镇 |
新路村 |
苍溪县铧厂沟水库管理站 |
东河 |
均质土坝 |
25 |
122 |
小(1)型 |
重点型 |
|
13 |
文林水库 |
岳东镇 |
文坪村 |
苍溪县文林水库管理站 |
东河 |
均质土坝 |
42 |
334 |
小(1)型 |
重点型 |
|
14 |
立新水库 |
东青镇 |
东阳村 |
苍溪县立新水库管理站 |
嘉陵江 |
粘土心墙坝 |
28 |
135 |
小(1)型 |
一般型 |
|
15 |
东方红水库 |
鸳溪镇 |
七宝村 |
苍溪县东方红水库管理站 |
嘉陵江 |
均质土坝 |
24 |
384.8 |
小(1)型 |
重点型 |
|
16 |
红卫水库 |
东青镇 |
蟠龙社区 |
苍溪县红卫水库管理站 |
嘉陵江 |
均质土坝 |
20 |
106.7 |
小(1)型 |
一般型 |
|
17 |
红星水库 |
白鹤乡 |
新店子村 |
苍溪县红星水库管理站 |
插江 |
均质土坝 |
16.14 |
106.6 |
小(1)型 |
一般型 |
|
18 |
印合水库 |
永宁镇 |
平兰村 |
苍溪县印合水库管理站 |
嘉陵江 |
均质土坝 |
35.7 |
265.64 |
小(1)型 |
重点型 |
|
19 |
团结水库 |
浙水乡 |
梁都村 |
苍溪县团结水库管理站 |
嘉陵江 |
均质土坝 |
29.3 |
239 |
小(1)型 |
重点型 |
|
20 |
三林水库 |
元坝镇 |
七星村 |
苍溪县三林水库管理站 |
东河 |
均质土坝 |
22.4 |
105.3 |
小(1)型 |
重点型 |
|
21 |
红旗水库 |
元坝镇 |
铧山村 |
苍溪县红旗水库管理站 |
东河 |
均质土坝 |
28 |
109.1 |
小(1)型 |
重点型 |
|
22 |
白马水库 |
白鹤乡 |
上游村 |
苍溪县白鹤乡上游村村民委员会 |
插江 |
均质土坝 |
19 |
31.29 |
小(2)型 |
重点型 |
|
23 |
月儿湾水库 |
白鹤乡 |
伏公社区 |
苍溪县白鹤乡伏公社区居民委员会 |
嘉陵江 |
均质土坝 |
12.9 |
10.37 |
小(2)型 |
一般型 |
|
24 |
和尚坟水库 |
白鹤乡 |
龙凤村 |
苍溪县白鹤乡龙凤村村民委员会 |
插江 |
均质土坝 |
20.92 |
10.39 |
小(2)型 |
重点型 |
|
25 |
陈家沟水库 |
白鹤乡 |
东风村 |
苍溪县白鹤乡东风村村民委员会 |
插江 |
均质土坝 |
14.1 |
12.16 |
小(2)型 |
一般型 |
|
26 |
汪家湾水库 |
白鹤乡 |
白鹤社区 |
苍溪县白鹤乡白鹤社区居民委员会 |
插江 |
均质土坝 |
14.95 |
12.27 |
小(2)型 |
一般型 |
|
27 |
工农水库 |
白鹤乡 |
柳池村 |
苍溪县白鹤乡柳池村村民委员会 |
插江 |
均质土坝 |
11.1 |
16.15 |
小(2)型 |
重点型 |
|
28 |
五一水库 |
白鹤乡 |
柳池村 |
苍溪县白鹤乡柳池村村民委员会 |
插江 |
均质土坝 |
11.75 |
12.88 |
小(2)型 |
一般型 |
|
29 |
兰池沟水库 |
白鹤乡 |
上游村 |
苍溪县白鹤乡上游村村民委员会 |
插江 |
均质土坝 |
18.18 |
13.45 |
小(2)型 |
重点型 |
|
30 |
李家湾水库 |
白鹤乡 |
新店子村 |
苍溪县白鹤乡新店子村村民委员会 |
嘉陵江 |
均质土坝 |
18.75 |
10.55 |
小(2)型 |
重点型 |
|
31 |
大柏树嘴水库 |
白桥镇 |
同心村 |
苍溪县白桥镇同心村村民委员会 |
嘉陵江 |
均质土坝 |
7.8 |
10.56 |
小(2)型 |
一般型 |
|
32 |
幸福水库 |
白桥镇 |
同心村 |
苍溪县白桥镇同心村村民委员会 |
嘉陵江 |
均质土坝 |
16.6 |
37.15 |
小(2)型 |
重点型 |
|
33 |
跃进水库 |
白桥镇 |
上马村 |
苍溪县白桥镇上马村村民委员会 |
嘉陵江 |
均质土坝 |
16.5 |
10.74 |
小(2)型 |
重点型 |
|
34 |
上游水库 |
白桥镇 |
白桥社区 |
苍溪县白桥镇白桥社区居民委员会 |
嘉陵江 |
均质土坝 |
22.7 |
27.3 |
小(2)型 |
重点型 |
|
35 |
宝顶水库 |
白山乡 |
宝寨村 |
苍溪县白山乡宝寨村村民委员会 |
嘉陵江-双河 |
均质土坝 |
14.44 |
21.4 |
小(2)型 |
一般型 |
|
36 |
红庙水库 |
白山乡 |
红庙村 |
苍溪县白山乡红庙村村民委员会 |
嘉陵江-双河 |
均质土坝 |
13.4 |
12.91 |
小(2)型 |
一般型 |
|
37 |
江西沟水库 |
白山乡 |
天南村 |
苍溪县白山乡天南村村民委员会 |
嘉陵江-柳树河 |
均质土坝 |
30.28 |
24.38 |
小(2)型 |
重点型 |
|
38 |
先锋水库 |
白驿镇 |
金龙泉村 |
苍溪县白驿镇金龙泉村村民委员会 |
广元昭化以下干流 |
均质土坝 |
20.08 |
50.34 |
小(2)型 |
重点型 |
|
39 |
上游水库 |
白驿镇 |
池口村 |
苍溪县白驿镇池口村村民委员会 |
广元昭化以下干流 |
均质土坝 |
12.45 |
13.6 |
小(2)型 |
一般型 |
|
40 |
跃进水库 |
白驿镇 |
金凤村 |
苍溪县白驿镇金凤村村民委员会 |
广元昭化以下干流 |
均质土坝 |
19.6 |
11.91 |
小(2)型 |
重点型 |
|
41 |
卫东水库 |
白驿镇 |
康泉村 |
苍溪县白驿镇康泉村村民委员会 |
广元昭化以下干流 |
均质土坝 |
14.21 |
48.25 |
小(2)型 |
一般型 |
|
42 |
方山水库 |
白驿镇 |
方山村 |
苍溪县白驿镇方山村村民委员会 |
广元昭化以下干流 |
均质土坝 |
21.5 |
22.66 |
小(2)型 |
重点型 |
|
43 |
董家角水库 |
白驿镇 |
岫云村 |
苍溪县白驿镇岫云村村民委员会 |
广元昭化以下干流 |
均质土坝 |
20.3 |
23.16 |
小(2)型 |
重点型 |
|
44 |
红旗水库 |
白驿镇 |
红星村 |
苍溪县白驿镇红星村村民委员会 |
广元昭化以下干流 |
均质土坝 |
21.3 |
14.34 |
小(2)型 |
重点型 |
|
45 |
立山水库 |
白驿镇 |
下坊坪村 |
苍溪县白驿镇下坊坪村村民委员会 |
广元昭化以下干流 |
均质土坝 |
15.85 |
29.78 |
小(2)型 |
重点型 |
|
46 |
红旗水库 |
百利镇 |
青玉村 |
苍溪县百利镇青玉村村民委员会 |
嘉陵江 |
均质土坝 |
17.7 |
77.29 |
小(2)型 |
重点型 |
|
47 |
珑玲水库 |
百利镇 |
新龙村 |
苍溪县百利镇新龙村村民委员会 |
嘉陵江 |
均质土坝 |
17.2 |
23.86 |
小(2)型 |
重点型 |
|
48 |
高峰水库 |
百利镇 |
高玉村 |
苍溪县百利镇高玉村村民委员会 |
嘉陵江 |
均质土坝 |
13.75 |
13.09 |
小(2)型 |
一般型 |
|
49 |
战备水库 |
东青镇 |
东阳村 |
苍溪县东青镇东阳村村民委员会 |
拱桥沟 |
均质土坝 |
24.3 |
14.7 |
小(2)型 |
重点型 |
|
50 |
东台水库 |
东青镇 |
五兴村 |
苍溪县东青镇五兴村村民委员会 |
拱桥沟 |
均质土坝 |
10.1 |
10.97 |
小(2)型 |
一般型 |
|
51 |
互利水库 |
东青镇 |
互裕村 |
苍溪县东青镇互裕村村民委员会 |
白溪浩 |
均质土坝 |
15.5 |
12.17 |
小(2)型 |
重点型 |
|
52 |
东裕水库 |
东青镇 |
互裕村 |
苍溪县东青镇互裕村村民委员会 |
白溪浩 |
均质土坝 |
22.27 |
13.15 |
小(2)型 |
重点型 |
|
53 |
晒石水库 |
东青镇 |
明兴村 |
苍溪县东青镇明兴村村民委员会 |
白溪浩 |
均质土坝 |
17.79 |
10.2 |
小(2)型 |
重点型 |
|
54 |
东高水库 |
东青镇 |
东高村 |
苍溪县东青镇东高村村民委员会 |
嘉陵江 |
均质土坝 |
20.8 |
10.3 |
小(2)型 |
重点型 |
|
55 |
天桥水库 |
东青镇 |
宝梁村 |
苍溪县东青镇宝梁村村民委员会 |
嘉陵江 |
均质土坝 |
22.22 |
11.01 |
小(2)型 |
重点型 |
|
56 |
广福水库 |
东青镇 |
宝梁村 |
苍溪县东青镇宝梁村村民委员会 |
嘉陵江 |
均质土坝 |
9.7 |
11.4 |
小(2)型 |
一般型 |
|
57 |
东风水库 |
东青镇 |
铃旗村 |
苍溪县东青镇铃旗村村民委员会 |
白溪浩 |
均质土坝 |
19.1 |
14.65 |
小(2)型 |
重点型 |
|
58 |
洞角岩水库 |
东青镇 |
禅林社区 |
苍溪县东青镇禅林社区居民委员会 |
白溪浩 |
均质土坝 |
18.28 |
15.13 |
小(2)型 |
重点型 |
|
59 |
红阳水库 |
东青镇 |
苍红村 |
苍溪县东青镇苍红村村民委员会 |
龙溪河 |
均质土坝 |
10.55 |
10.32 |
小(2)型 |
一般型 |
|
60 |
建设水库 |
东青镇 |
碧水村 |
苍溪县东青镇碧水村村民委员会 |
白溪浩 |
均质土坝 |
17.6 |
39.78 |
小(2)型 |
重点型 |
|
61 |
明阳水库 |
东青镇 |
明阳村 |
苍溪县东青镇明阳村村民委员会 |
龙溪河 |
均质土坝 |
24.16 |
15.74 |
小(2)型 |
重点型 |
|
62 |
解放水库 |
东溪镇 |
中山村 |
苍溪县东溪镇中山村村民委员会 |
嘉陵江 |
均质土坝 |
24.07 |
17.89 |
小(2)型 |
重点型 |
|
63 |
永泉水库 |
东溪镇 |
红花村 |
苍溪县东溪镇红花村村民委员会 |
嘉陵江 |
均质土坝 |
24.8 |
19.67 |
小(2)型 |
重点型 |
|
64 |
中华水库 |
东溪镇 |
中山村 |
苍溪县东溪镇中山村村民委员会 |
嘉陵江 |
均质土坝 |
17.2 |
15.91 |
小(2)型 |
重点型 |
|
65 |
光辉水库 |
东溪镇 |
芙光村 |
苍溪县东溪镇芙光村村民委员会 |
嘉陵江 |
均质土坝 |
14.5 |
15.75 |
小(2)型 |
一般型 |
|
66 |
光荣水库 |
东溪镇 |
井塘村 |
苍溪县东溪镇井塘村村民委员会 |
嘉陵江 |
均质土坝 |
21.61 |
12.2 |
小(2)型 |
重点型 |
|
67 |
黎明水库 |
东溪镇 |
庙子村 |
苍溪县东溪镇庙子村村民委员会 |
嘉陵江 |
均质土坝 |
22 |
70.5 |
小(2)型 |
重点型 |
|
68 |
文化水库 |
东溪镇 |
双田社区 |
苍溪县东溪镇双田社区居民委员会 |
嘉陵江 |
均质土坝 |
15.39 |
13.9 |
小(2)型 |
重点型 |
|
69 |
五马水库 |
东溪镇 |
巨马村 |
苍溪县东溪镇巨马村村民委员会 |
嘉陵江 |
均质土坝 |
15.68 |
11.65 |
小(2)型 |
重点型 |
|
70 |
友谊水库 |
东溪镇 |
大龙村 |
苍溪县东溪镇大龙村村民委员会 |
嘉陵江 |
均质土坝 |
22.1 |
10.93 |
小(2)型 |
重点型 |
|
71 |
元坝水库 |
东溪镇 |
井子村 |
苍溪县东溪镇井子村村民委员会 |
嘉陵江 |
均质土坝 |
27 |
20.8 |
小(2)型 |
重点型 |
|
72 |
龙神水库 |
东溪镇 |
英明村 |
苍溪县东溪镇英明村村民委员会 |
嘉陵江 |
均质土坝 |
14.4 |
14.68 |
小(2)型 |
一般型 |
|
73 |
七五水库 |
东溪镇 |
双田社区 |
苍溪县东溪镇双田社区居民委员会 |
嘉陵江 |
均质土坝 |
10.75 |
13.16 |
小(2)型 |
一般型 |
|
74 |
柒树水库 |
东溪镇 |
大石村 |
苍溪县东溪镇大石村村民委员会 |
嘉陵江 |
均质土坝 |
15.1 |
13.25 |
小(2)型 |
重点型 |
|
75 |
桥地沟水库 |
东溪镇 |
柴坡村 |
苍溪县东溪镇柴坡村村民委员会 |
嘉陵江 |
均质土坝 |
10.87 |
11.3 |
小(2)型 |
一般型 |
|
76 |
桥河沟水库 |
东溪镇 |
井塘村 |
苍溪县东溪镇井塘村村民委员会 |
嘉陵江 |
均质土坝 |
14.88 |
10 |
小(2)型 |
一般型 |
|
77 |
四角水库 |
东溪镇 |
芙光村 |
苍溪县东溪镇芙光村村民委员会 |
嘉陵江 |
均质土坝 |
11.65 |
10.24 |
小(2)型 |
一般型 |
|
78 |
万光水库 |
东溪镇 |
花园村 |
苍溪县东溪镇花园村村民委员会 |
嘉陵江 |
均质土坝 |
29.2 |
15.85 |
小(2)型 |
重点型 |
|
79 |
魏家角水库 |
东溪镇 |
八庙村 |
苍溪县东溪镇八庙村村民委员会 |
嘉陵江 |
均质土坝 |
22.7 |
10.21 |
小(2)型 |
重点型 |
|
80 |
陈光水库 |
东溪镇 |
望乡村 |
苍溪县东溪镇望乡村村民委员会 |
嘉陵江 |
均质土坝 |
24.84 |
11.77 |
小(2)型 |
重点型 |
|
81 |
红专水库 |
东溪镇 |
巨马村 |
苍溪县东溪镇巨马村村民委员会 |
嘉陵江 |
均质土坝 |
15.11 |
12.73 |
小(2)型 |
重点型 |
|
82 |
华长沟水库 |
东溪镇 |
八字村 |
苍溪县东溪镇八字村村民委员会 |
嘉陵江 |
均质土坝 |
13 |
13.67 |
小(2)型 |
一般型 |
|
83 |
肖家垭水库 |
东溪镇 |
庙子村 |
苍溪县东溪镇庙子村村民委员会 |
嘉陵江 |
均质土坝 |
23.8 |
10.32 |
小(2)型 |
重点型 |
|
84 |
芙蓉水库 |
东溪镇 |
芙光村 |
苍溪县东溪镇芙光村村民委员会 |
嘉陵江 |
均质土坝 |
24.17 |
18.85 |
小(2)型 |
重点型 |
|
85 |
茨竹沟水库 |
高坡镇 |
竹梨村 |
苍溪县高坡镇竹梨村村民委员会 |
嘉陵江 |
混凝土坝 |
21 |
11.12 |
小(2)型 |
重点型 |
|
86 |
死水沱水库 |
高坡镇 |
竹梨村 |
苍溪县高坡镇竹梨村村民委员会 |
嘉陵江 |
均质土坝 |
13.07 |
12.23 |
小(2)型 |
一般型 |
|
87 |
二郎关水库 |
高坡镇 |
云桑村 |
苍溪县高坡镇云桑村村民委员会 |
嘉陵江 |
均质土坝 |
29.75 |
54.46 |
小(2)型 |
重点型 |
|
88 |
高产水库 |
高坡镇 |
青寨村 |
苍溪县高坡镇青寨村村民委员会 |
嘉陵江 |
均质土坝 |
14.75 |
10 |
小(2)型 |
一般型 |
|
89 |
黑土地水库 |
高坡镇 |
竹梨村 |
苍溪县高坡镇竹梨村村民委员会 |
嘉陵江 |
均质土坝 |
21.5 |
17.31 |
小(2)型 |
重点型 |
|
90 |
唐家大水库 |
高坡镇 |
天关村 |
苍溪县高坡镇天关村村民委员会 |
嘉陵江 |
均质土坝 |
18.58 |
10.92 |
小(2)型 |
重点型 |
|
91 |
红岩水库 |
高坡镇 |
红岩村 |
苍溪县高坡镇红岩村村民委员会 |
嘉陵江 |
均质土坝 |
7.53 |
12.6 |
小(2)型 |
一般型 |
|
92 |
烧碳沟水库 |
高坡镇 |
柳溪村 |
苍溪县高坡镇柳溪村村民委员会 |
嘉陵江 |
均质土坝 |
12.1 |
10.2 |
小(2)型 |
重点型 |
|
93 |
高坪水库 |
河地镇 |
高晨村 |
苍溪县河地镇高晨村村民委员会 |
广元昭化以下干流 |
均质土坝 |
9.5 |
11 |
小(2)型 |
一般型 |
|
94 |
茂兴水库 |
河地镇 |
兴华村 |
苍溪县河地镇兴华村村民委员会 |
广元昭化以下干流 |
均质土坝 |
17.3 |
11.38 |
小(2)型 |
重点型 |
|
95 |
民臣沟水库 |
河地镇 |
天主村 |
苍溪县河地镇天主村村民委员会 |
广元昭化以下干流 |
均质土坝 |
9.17 |
10 |
小(2)型 |
一般型 |
|
96 |
桥沟河水库 |
河地镇 |
何家梁村 |
苍溪县河地镇何家梁村村民委员会 |
广元昭化以下干流 |
均质土坝 |
30.49 |
15.81 |
小(2)型 |
重点型 |
|
97 |
松林沟水库 |
河地镇 |
两河口社区 |
苍溪县河地镇两河口社区居民委员会 |
广元昭化以下干流 |
均质土坝 |
16.36 |
10.11 |
小(2)型 |
重点型 |
|
98 |
石墙垭水库 |
河地镇 |
榨垭村 |
苍溪县河地镇榨垭村村民委员会 |
广元昭化以下干流 |
均质土坝 |
19.3 |
12.42 |
小(2)型 |
重点型 |
|
99 |
大沱水库 |
唤马镇 |
黑山村 |
苍溪县唤马镇黑山村村民委员会 |
东河 |
均质土坝 |
25.91 |
10.73 |
小(2)型 |
重点型 |
|
100 |
黑洞沟水库 |
唤马镇 |
云龙村 |
苍溪县唤马镇云龙村村民委员会 |
东河 |
均质土坝 |
24.7 |
11.03 |
小(2)型 |
重点型 |
|
101 |
碾子沟水库 |
唤马镇 |
云龙村 |
苍溪县唤马镇云龙村村民委员会 |
东河 |
均质土坝 |
35.5 |
21.89 |
小(2)型 |
重点型 |
|
102 |
侯家沟水库 |
唤马镇 |
金店村 |
苍溪县唤马镇金店村村民委员会 |
东河 |
均质土坝 |
32 |
22.55 |
小(2)型 |
重点型 |
|
103 |
秧田河水库 |
黄猫垭镇 |
三溪口村 |
苍溪县黄猫垭镇三溪口村村民委员会 |
渠江水系 |
均质土坝 |
16.84 |
13.47 |
小(2)型 |
重点型 |
|
104 |
远景水库 |
黄猫垭镇 |
龙洞社区 |
苍溪县黄猫垭镇龙洞社区居民委员会 |
渠江水系 |
均质土坝 |
16.8 |
14.14 |
小(2)型 |
重点型 |
|
105 |
三叉河水库 |
黄猫垭镇 |
回龙村 |
苍溪县黄猫垭镇回龙村村民委员会 |
渠江水系 |
均质土坝 |
12.5 |
14.81 |
小(2)型 |
一般型 |
|
106 |
陈家湾水库 |
黄猫垭镇 |
黄猫社区 |
苍溪县黄猫垭镇黄猫社区居民委员会 |
渠江水系 |
均质土坝 |
11.67 |
15.05 |
小(2)型 |
一般型 |
|
107 |
老黄猫水库 |
黄猫垭镇 |
南军村 |
苍溪县黄猫垭镇南军村村民委员会 |
渠江水系 |
均质土坝 |
11 |
10.01 |
小(2)型 |
一般型 |
|
108 |
新黄猫水库 |
黄猫垭镇 |
黄猫社区 |
苍溪县黄猫垭镇黄猫社区居民委员会 |
渠江水系 |
均质土坝 |
16.39 |
17.59 |
小(2)型 |
重点型 |
|
109 |
前卫水库 |
黄猫垭镇 |
南军村 |
苍溪县黄猫垭镇南军村村民委员会 |
渠江水系 |
均质土坝 |
14.6 |
12.64 |
小(2)型 |
一般型 |
|
110 |
呈元水库 |
黄猫垭镇 |
呈元村 |
苍溪县黄猫垭镇呈元村村民委员会 |
渠江水系 |
均质土坝 |
15.47 |
10.3 |
小(2)型 |
重点型 |
|
111 |
白鹤水库 |
漓江镇 |
富桥村 |
苍溪县漓江镇富桥村村民委员会 |
嘉陵江 |
均质土坝 |
18.24 |
10.56 |
小(2)型 |
重点型 |
|
112 |
红旗水库 |
漓江镇 |
凤峨村 |
苍溪县漓江镇凤峨村村民委员会 |
嘉陵江 |
均质土坝 |
28.46 |
10.39 |
小(2)型 |
重点型 |
|
113 |
李子沟水库 |
漓江镇 |
老林村 |
苍溪县漓江镇老林村村民委员会 |
嘉陵江 |
均质土坝 |
28.6 |
13.56 |
小(2)型 |
重点型 |
|
114 |
栗板子水库 |
漓江镇 |
五凤村 |
苍溪县漓江镇五凤村村民委员会 |
嘉陵江 |
均质土坝 |
20.61 |
11.79 |
小(2)型 |
重点型 |
|
115 |
硝洞沟水库 |
漓江镇 |
五凤村 |
苍溪县漓江镇五凤村村民委员会 |
嘉陵江 |
均质土坝 |
22 |
13.11 |
小(2)型 |
重点型 |
|
116 |
群岭水库 |
陵江镇 |
群岭村 |
苍溪县陵江镇群岭村村民委员会 |
嘉陵江 |
均质土坝 |
16 |
21.45 |
小(2)型 |
重点型 |
|
117 |
太平水库 |
陵江镇 |
太平村 |
苍溪县陵江镇太平村村民委员会 |
嘉陵江 |
均质土坝 |
21.2 |
33.63 |
小(2)型 |
重点型 |
|
118 |
民主水库 |
陵江镇 |
武当社区 |
苍溪县陵江镇武当社区居民委员会 |
嘉陵江 |
均质土坝 |
13.65 |
27.12 |
小(2)型 |
一般型 |
|
119 |
晨光水库 |
陵江镇 |
高城村 |
苍溪县陵江镇高城村村民委员会 |
嘉陵江 |
均质土坝 |
17.77 |
25.55 |
小(2)型 |
重点型 |
|
120 |
麻岭水库 |
陵江镇 |
白观村 |
苍溪县陵江镇白观村村民委员会 |
嘉陵江 |
均质土坝 |
14 |
32.1 |
小(2)型 |
一般型 |
|
121 |
东方水库 |
陵江镇 |
东方村 |
苍溪县陵江镇东方村村民委员会 |
嘉陵江 |
均质土坝 |
20.5 |
28.81 |
小(2)型 |
重点型 |
|
122 |
黄家湾水库 |
陵江镇 |
东方村 |
苍溪县陵江镇东方村村民委员会 |
嘉陵江 |
均质土坝 |
13.97 |
14.42 |
小(2)型 |
一般型 |
|
123 |
展望水库 |
陵江镇 |
镇水社区 |
苍溪县陵江镇镇水社区居民委员会 |
嘉陵江 |
均质土坝 |
20.99 |
13.29 |
小(2)型 |
重点型 |
|
124 |
胜利水库 |
陵江镇 |
江南村 |
苍溪县陵江镇江南村村民委员会 |
嘉陵江 |
均质土坝 |
14 |
12.85 |
小(2)型 |
一般型 |
|
125 |
火湾水库 |
陵江镇 |
江南村 |
苍溪县陵江镇江南村村民委员会 |
嘉陵江 |
均质土坝 |
10.6 |
11.16 |
小(2)型 |
一般型 |
|
126 |
陵江水库 |
陵江镇 |
陵江村 |
苍溪县陵江镇陵江村村民委员会 |
嘉陵江 |
均质土坝 |
15 |
12.54 |
小(2)型 |
重点型 |
|
127 |
八一水库 |
龙山镇 |
龙宝村 |
苍溪县龙山镇龙宝村村民委员会 |
芝子河 |
均质土坝 |
27 |
36.48 |
小(2)型 |
重点型 |
|
128 |
拱桥沟水库 |
龙山镇 |
金桥村 |
苍溪县龙山镇金桥村村民委员会 |
苟溪河 |
均质土坝 |
14.05 |
14.24 |
小(2)型 |
一般型 |
|
129 |
韩家梁水库 |
龙山镇 |
福田村 |
苍溪县龙山镇福田村村民委员会 |
双河 |
均质土坝 |
20.8 |
11 |
小(2)型 |
重点型 |
|
130 |
凉桥大垭水库 |
龙山镇 |
宝宁村 |
苍溪县龙山镇宝宁村村民委员会 |
苟溪河 |
均质土坝 |
28.8 |
39.6 |
小(2)型 |
重点型 |
|
131 |
灵凤大垭水库 |
龙山镇 |
灵凤村 |
苍溪县龙山镇灵凤村村民委员会 |
双河 |
均质土坝 |
18.78 |
11.53 |
小(2)型 |
重点型 |
|
132 |
长梁水库 |
龙山镇 |
长梁村 |
苍溪县龙山镇长梁村村民委员会 |
芝子河 |
均质土坝 |
15.48 |
24.12 |
小(2)型 |
重点型 |
|
133 |
梅子沟水库 |
龙山镇 |
五星村 |
苍溪县龙山镇五星村村民委员会 |
双河 |
均质土坝 |
24.4 |
27.31 |
小(2)型 |
重点型 |
|
134 |
南阳水库 |
龙山镇 |
龙角村 |
苍溪县龙山镇龙角村村民委员会 |
芝子河 |
均质土坝 |
17.54 |
19.16 |
小(2)型 |
重点型 |
|
135 |
冲天沟水库 |
龙王镇 |
九龙村 |
苍溪县龙王镇九龙村村民委员会 |
插江 |
均质土坝 |
12 |
30.2 |
小(2)型 |
重点型 |
|
136 |
建兴水库 |
龙王镇 |
两河村 |
苍溪县龙王镇两河村村民委员会 |
插江 |
均质土坝 |
11.6 |
19.7 |
小(2)型 |
一般型 |
|
137 |
五台水库 |
龙王镇 |
两河村 |
苍溪县龙王镇两河村村民委员会 |
雍河 |
均质土坝 |
30 |
29.1 |
小(2)型 |
重点型 |
|
138 |
滴水岩水库 |
龙王镇 |
九龙村 |
苍溪县龙王镇九龙村村民委员会 |
雍河 |
均质土坝 |
23.4 |
10.1 |
小(2)型 |
重点型 |
|
139 |
辽叶沟水库 |
龙王镇 |
歇台村 |
苍溪县龙王镇歇台村村民委员会 |
插江 |
均质土坝 |
24.41 |
10.74 |
小(2)型 |
重点型 |
|
140 |
清明梁水库 |
龙王镇 |
歇台村 |
苍溪县龙王镇歇台村村民委员会 |
插江 |
均质土坝 |
23.3 |
10.3 |
小(2)型 |
重点型 |
|
141 |
姚家沟水库 |
龙王镇 |
歇台村 |
苍溪县龙王镇歇台村村民委员会 |
插江 |
均质土坝 |
19.3 |
12.76 |
小(2)型 |
重点型 |
|
142 |
友谊水库 |
龙王镇 |
友谊村 |
苍溪县龙王镇友谊村村民委员会 |
插江 |
均质土坝 |
26 |
26.2 |
小(2)型 |
重点型 |
|
143 |
龚家巷水库 |
龙王镇 |
花坪村 |
苍溪县龙王镇花坪村村民委员会 |
雍河 |
均质土坝 |
8.8 |
10.14 |
小(2)型 |
一般型 |
|
144 |
碧垭槽水库 |
龙王镇 |
乐园村 |
苍溪县龙王镇乐园村村民委员会 |
雍河 |
均质土坝 |
14 |
24.3 |
小(2)型 |
一般型 |
|
145 |
汪家梁水库 |
彭店乡 |
大梁村 |
苍溪县彭店乡大梁村村民委员会 |
嘉陵江 |
均质土坝 |
17.4 |
12.88 |
小(2)型 |
重点型 |
|
146 |
中华水库 |
彭店乡 |
大梁村 |
苍溪县彭店乡大梁村村民委员会 |
嘉陵江 |
均质土坝 |
28.8 |
15.13 |
小(2)型 |
重点型 |
|
147 |
尖角洞水库 |
彭店乡 |
来龙村 |
苍溪县彭店乡来龙村村民委员会 |
嘉陵江 |
均质土坝 |
22.11 |
10.44 |
小(2)型 |
重点型 |
|
148 |
吴垭水库 |
彭店乡 |
来龙村 |
苍溪县彭店乡来龙村村民委员会 |
嘉陵江 |
均质土坝 |
12.71 |
12.5 |
小(2)型 |
重点型 |
|
149 |
庙垭水库 |
彭店乡 |
清泉村 |
苍溪县彭店乡清泉村村民委员会 |
嘉陵江 |
均质土坝 |
15.7 |
10.55 |
小(2)型 |
重点型 |
|
150 |
邢家沟水库 |
歧坪镇 |
南阳社区 |
苍溪县歧坪镇南阳社区居民委员会 |
东河 |
均质土坝 |
10.1 |
10 |
小(2)型 |
一般型 |
|
151 |
大田湾水库 |
歧坪镇 |
龙星村 |
苍溪县歧坪镇龙星村村民委员会 |
东河 |
均质土坝 |
12.48 |
16.53 |
小(2)型 |
一般型 |
|
152 |
胜利水库 |
歧坪镇 |
登高社区 |
苍溪县歧坪镇登高社区居民委员会 |
东河 |
均质土坝 |
20.34 |
17.38 |
小(2)型 |
重点型 |
|
153 |
木牛垭水库 |
歧坪镇 |
登高村 |
苍溪县歧坪镇登高村村民委员会 |
东河 |
均质土坝 |
17.3 |
10.1 |
小(2)型 |
重点型 |
|
154 |
红旗水库 |
歧坪镇 |
登高村 |
苍溪县歧坪镇登高村村民委员会 |
东河 |
均质土坝 |
19.5 |
10.5 |
小(2)型 |
重点型 |
|
155 |
和平水库 |
歧坪镇 |
和平村 |
苍溪县歧坪镇和平村村民委员会 |
东河 |
均质土坝 |
14.4 |
39.29 |
小(2)型 |
一般型 |
|
156 |
李家沟水库 |
歧坪镇 |
南阳社区 |
苍溪县歧坪镇南阳社区居民委员会 |
东河 |
均质土坝 |
10.9 |
10.3 |
小(2)型 |
一般型 |
|
157 |
建设水库 |
歧坪镇 |
临江村 |
苍溪县歧坪镇临江村村民委员会 |
东河 |
均质土坝 |
14.09 |
28.51 |
小(2)型 |
一般型 |
|
158 |
百花水库 |
桥溪乡 |
川主村 |
苍溪县桥溪乡川主村村民委员会 |
东河 |
均质土坝 |
31.65 |
29.69 |
小(2)型 |
重点型 |
|
159 |
大垭口水库 |
三川镇 |
大阳村 |
苍溪县三川镇大阳村村民委员会 |
白溪沟 |
均质土坝 |
22.28 |
10.5 |
小(2)型 |
重点型 |
|
160 |
伏家沟水库 |
五龙镇 |
九燕村 |
苍溪县五龙镇九燕村村民委员会 |
插江 |
均质土坝 |
29.31 |
94.15 |
小(2)型 |
重点型 |
|
161 |
马鞍山水库 |
三川镇 |
三河村 |
苍溪县三川镇三河村村民委员会 |
白溪沟 |
均质土坝 |
14.9 |
15.51 |
小(2)型 |
一般型 |
|
162 |
磨房沟水库 |
三川镇 |
天观社区 |
苍溪县三川镇天观社区居民委员会 |
白溪沟 |
均质土坝 |
26.38 |
22.21 |
小(2)型 |
重点型 |
|
163 |
三叉沟水库 |
三川镇 |
龙景村 |
苍溪县三川镇龙景村村民委员会 |
白溪沟 |
均质土坝 |
22.96 |
19.71 |
小(2)型 |
重点型 |
|
164 |
王家湾水库 |
三川镇 |
龙柳村 |
苍溪县三川镇龙柳村村民委员会 |
东河 |
均质土坝 |
27 |
21.7 |
小(2)型 |
重点型 |
|
165 |
乌龟石水库 |
五龙镇 |
玉顶村 |
苍溪县三川镇川桥村村民委会 |
插江 |
均质土坝 |
17.7 |
69.2 |
小(2)型 |
重点型 |
|
166 |
五峰山水库 |
三川镇 |
天官村 |
苍溪县三川镇天官村村民委员会 |
白溪沟 |
均质土坝 |
24.3 |
26.31 |
小(2)型 |
重点型 |
|
167 |
乌堰塘水库 |
石马镇 |
月沙村 |
苍溪县石马镇月沙村村民委员会 |
渠江 |
均质土坝 |
8.92 |
10.36 |
小(2)型 |
一般型 |
|
168 |
西官水库 |
石马镇 |
月沙村 |
苍溪县石马镇月沙村村民委员会 |
渠江 |
黏土心石渣坝 |
29.95 |
43.04 |
小(2)型 |
重点型 |
|
169 |
团结水库 |
石马镇 |
五峰村 |
苍溪县石马镇五峰村村民委员会 |
渠江 |
均质土坝 |
16 |
12.32 |
小(2)型 |
重点型 |
|
170 |
石板田湾水库 |
石马镇 |
岳王村 |
苍溪县石马镇岳王村村民委员会 |
渠江 |
均质土坝 |
14.7 |
11.2 |
小(2)型 |
一般型 |
|
171 |
东风水库 |
石马镇 |
红星社区 |
苍溪县石马镇红星社区居民委员会 |
渠江 |
均质土坝 |
22.8 |
58.6 |
小(2)型 |
重点型 |
|
172 |
中华水库 |
石马镇 |
中华村 |
苍溪县石马镇中华村村民委员会 |
渠江 |
均质土坝 |
41.1 |
37.37 |
小(2)型 |
重点型 |
|
173 |
杜家角水库 |
亭子镇 |
水池村 |
苍溪县亭子镇水池村村民委员会 |
嘉陵江 |
均质土坝 |
15 |
17.26 |
小(2)型 |
重点型 |
|
174 |
李家山水库 |
亭子镇 |
双峰村 |
苍溪县亭子镇双峰村村民委员会 |
嘉陵江 |
均质土坝 |
10.9 |
15.9 |
小(2)型 |
一般型 |
|
175 |
天池水库 |
亭子镇 |
清河村 |
苍溪县亭子镇清河村村民委员会 |
嘉陵江 |
均质土坝 |
19.95 |
19.25 |
小(2)型 |
重点型 |
|
176 |
菜麻湾水库 |
文昌镇 |
白岩社区 |
苍溪县文昌镇白岩社区居民委员会 |
嘉陵江-双河 |
均质土坝 |
22.94 |
16.62 |
小(2)型 |
重点型 |
|
177 |
方田湾水库 |
文昌镇 |
油堡村 |
苍溪县文昌镇油堡村村民委员会 |
嘉陵江-白石沟河 |
均质土坝 |
15.71 |
11.12 |
小(2)型 |
重点型 |
|
178 |
国营山水库 |
文昌镇 |
孙家村 |
苍溪县文昌镇孙家村村民委员会 |
嘉陵江-白石沟河 |
均质土坝 |
23.6 |
16.36 |
小(2)型 |
重点型 |
|
179 |
群丰水库 |
文昌镇 |
油堡村 |
苍溪县文昌镇油堡村村民委员会 |
嘉陵江-双河 |
均质土坝 |
16.8 |
13.28 |
小(2)型 |
重点型 |
|
180 |
宋家水库 |
文昌镇 |
红瓦村 |
苍溪县文昌镇红瓦村村民委员会 |
嘉陵江-白石沟河 |
均质土坝 |
17.41 |
14.7 |
小(2)型 |
重点型 |
|
181 |
团结水库 |
文昌镇 |
金民村 |
苍溪县文昌镇金民村村民委员会 |
嘉陵江-白石沟河 |
均质土坝 |
12.55 |
18.8 |
小(2)型 |
一般型 |
|
182 |
岩壳湾水库 |
文昌镇 |
鸳鸯村 |
苍溪县文昌镇鸳鸯村村民委员会 |
嘉陵江-白石沟河 |
均质土坝 |
20.54 |
12.97 |
小(2)型 |
重点型 |
|
183 |
祠堂水库 |
文昌镇 |
权家村 |
苍溪县文昌镇权家村村民委员会 |
嘉陵江-白石沟河 |
均质土坝 |
16.43 |
11.43 |
小(2)型 |
重点型 |
|
184 |
村湾水库 |
文昌镇 |
油堡村 |
苍溪县文昌镇油堡村村民委员会 |
嘉陵江-白石沟河 |
均质土坝 |
19.7 |
15.84 |
小(2)型 |
重点型 |
|
185 |
大寨水库 |
文昌镇 |
石昌村 |
苍溪县文昌镇石昌村村民委员会 |
嘉陵江-双河 |
均质土坝 |
14.1 |
12.61 |
小(2)型 |
一般型 |
|
186 |
得胜水库 |
文昌镇 |
得胜村 |
苍溪县文昌镇得胜村村民委员会 |
嘉陵江-双河 |
均质土坝 |
19 |
19.58 |
小(2)型 |
重点型 |
|
187 |
利群水库 |
文昌镇 |
白岩社区 |
苍溪县文昌镇白岩社区居民委员会 |
嘉陵江-双河 |
均质土坝 |
9.3 |
10.3 |
小(2)型 |
一般型 |
|
188 |
六角水库 |
文昌镇 |
鸳鸯村 |
苍溪县文昌镇鸳鸯村村民委员会 |
嘉陵江-双河 |
均质土坝 |
20.7 |
20.44 |
小(2)型 |
重点型 |
|
189 |
孙家水库 |
文昌镇 |
孙家村 |
苍溪县文昌镇孙家村村民委员会 |
嘉陵江-双河 |
均质土坝 |
24.9 |
19.87 |
小(2)型 |
重点型 |
|
190 |
鸳鸯水库 |
文昌镇 |
鸳鸯村 |
苍溪县文昌镇鸳鸯村村民委员会 |
嘉陵江-白石沟河 |
均质土坝 |
18.21 |
11.57 |
小(2)型 |
重点型 |
|
191 |
耿家山水库 |
五龙镇 |
三会村 |
苍溪县五龙镇三会村村民委员会 |
插江 |
均质土坝 |
13.74 |
13.93 |
小(2)型 |
一般型 |
|
192 |
红光水库 |
五龙镇 |
三会村 |
苍溪县五龙镇三会村村民委员会 |
插江 |
均质土坝 |
20.9 |
34.18 |
小(2)型 |
重点型 |
|
193 |
碾子沟水库 |
五龙镇 |
三会村 |
苍溪县五龙镇三会村村民委员会 |
插江 |
均质土坝 |
20.35 |
12.57 |
小(2)型 |
重点型 |
|
194 |
计划水库 |
五龙镇 |
苍龙村 |
苍溪县五龙镇苍龙村村民委员会 |
插江 |
均质土坝 |
15.2 |
31.54 |
小(2)型 |
重点型 |
|
195 |
玉顶水库 |
五龙镇 |
苍龙村 |
苍溪县五龙镇苍龙村村民委员会 |
插江 |
均质土坝 |
20.8 |
14.85 |
小(2)型 |
重点型 |
|
196 |
烂泥埝水库 |
五龙镇 |
九燕村 |
苍溪县五龙镇九燕村村民委员会 |
东河 |
均质土坝 |
12.6 |
15.36 |
小(2)型 |
一般型 |
|
197 |
欧家弯水库 |
五龙镇 |
金龙社区 |
苍溪县五龙镇金龙社区居民委员会 |
沙溪浩 |
均质土坝 |
24.45 |
10.78 |
小(2)型 |
重点型 |
|
198 |
碾子沟水库 |
五龙镇 |
新梁村 |
苍溪县五龙镇新梁村村民委员会 |
沙溪浩 |
均质土坝 |
22 |
21.8 |
小(2)型 |
重点型 |
|
199 |
洋儿弯水库 |
五龙镇 |
玉龙村 |
苍溪县五龙镇玉龙村村民委员会 |
插江 |
均质土坝 |
22 |
19.53 |
小(2)型 |
重点型 |
|
200 |
笔山水库 |
永宁镇 |
笔山村 |
苍溪县永宁镇笔山村村民委员会 |
鸳溪沟 |
均质土坝 |
20.3 |
20.66 |
小(2)型 |
重点型 |
|
201 |
洞湾塘水库 |
永宁镇 |
桃花村 |
苍溪县永宁镇桃花村村民委员会 |
张家沟 |
均质土坝 |
13.11 |
12.21 |
小(2)型 |
一般型 |
|
202 |
铺子水库 |
永宁镇 |
铺子村 |
苍溪县永宁镇铺子村村民委员会 |
插江 |
均质土坝 |
16.3 |
12.73 |
小(2)型 |
重点型 |
|
203 |
陶家角水库 |
永宁镇 |
铺子村 |
苍溪县永宁镇铺子村村民委员会 |
插江 |
均质土坝 |
24.91 |
15.47 |
小(2)型 |
重点型 |
|
204 |
五星水库 |
鸳溪镇 |
宝民村 |
苍溪县鸳溪镇宝民村村民委员会 |
嘉陵江 |
均质土坝 |
16.4 |
23.51 |
小(2)型 |
重点型 |
|
205 |
胜利水库 |
鸳溪镇 |
学龙村 |
苍溪县鸳溪镇学龙村村民委员会 |
嘉陵江 |
均质土坝 |
17 |
33.53 |
小(2)型 |
重点型 |
|
206 |
全民水库 |
鸳溪镇 |
学龙村 |
苍溪县鸳溪镇学龙村村民委员会 |
嘉陵江 |
均质土坝 |
24.2 |
12.65 |
小(2)型 |
重点型 |
|
207 |
老君塘水库 |
鸳溪镇 |
古楼村 |
苍溪县鸳溪镇古楼村村民委员会 |
嘉陵江 |
均质土坝 |
14.89 |
11.15 |
小(2)型 |
一般型 |
|
208 |
红旗水库 |
鸳溪镇 |
弓灯村 |
苍溪县鸳溪镇弓灯村村民委员会 |
嘉陵江 |
均质土坝 |
16.22 |
16.29 |
小(2)型 |
重点型 |
|
209 |
光明水库 |
鸳溪镇 |
清石村 |
苍溪县鸳溪镇清石村村民委员会 |
嘉陵江 |
均质土坝 |
17.9 |
18 |
小(2)型 |
重点型 |
|
210 |
露白沟水库 |
元坝镇 |
三林村 |
苍溪县元坝镇三林村村民委员会 |
插江 |
均质土坝 |
24 |
44 |
小(2)型 |
重点型 |
|
211 |
掀盘沟水库 |
元坝镇 |
中梁村 |
苍溪县元坝镇中梁村村民委员会 |
插江 |
均质土坝 |
16.55 |
13.1 |
小(2)型 |
重点型 |
|
212 |
龙水沟水库 |
元坝镇 |
石门社区 |
苍溪县元坝镇石门社区居民委员会 |
插江 |
均质土坝 |
11.5 |
10.58 |
小(2)型 |
一般型 |
|
213 |
新华水库 |
元坝镇 |
三岔村 |
苍溪县元坝镇三岔村村民委员会 |
东河 |
均质土坝 |
15.33 |
21.07 |
小(2)型 |
重点型 |
|
214 |
红旗水库 |
元坝镇 |
白溪村 |
苍溪县元坝镇白溪村村民委员会 |
东河 |
均质土坝 |
21.7 |
10.27 |
小(2)型 |
重点型 |
|
215 |
赵家角水库 |
元坝镇 |
金壁社区 |
苍溪县元坝镇金壁社区居民委员会 |
东河 |
均质土坝 |
19.3 |
13.7 |
小(2)型 |
重点型 |
|
216 |
刘家角水库 |
元坝镇 |
峰平村 |
苍溪县元坝镇峰平村村民委员会 |
东河 |
均质土坝 |
16.4 |
12.57 |
小(2)型 |
重点型 |
|
217 |
飞马水库 |
元坝镇 |
芦飞村 |
苍溪县元坝镇芦飞村村民委员会 |
东河 |
均质土坝 |
28.4 |
25.22 |
小(2)型 |
重点型 |
|
218 |
尧沟水库 |
元坝镇 |
清鹤村 |
苍溪县元坝镇清鹤村村民委员会 |
东河 |
均质土坝 |
22 |
25 |
小(2)型 |
重点型 |
|
219 |
跃进水库 |
元坝镇 |
铜土村 |
苍溪县元坝镇铜土村村民委员会 |
东河 |
均质土坝 |
18.25 |
33.2 |
小(2)型 |
重点型 |
|
220 |
镜子水库 |
元坝镇 |
旋子山村 |
苍溪县元坝镇旋子山村村民委员会 |
东河 |
均质土坝 |
15 |
12 |
小(2)型 |
重点型 |
|
221 |
移民水库 |
元坝镇 |
张王社区 |
苍溪县元坝镇张王社区居民委员会 |
东河 |
均质土坝 |
36.27 |
53.4 |
小(2)型 |
重点型 |
|
222 |
裕群水库 |
元坝镇 |
裕群村 |
苍溪县元坝镇裕群村村民委员会 |
东河 |
均质土坝 |
9 |
52.66 |
小(2)型 |
一般型 |
|
223 |
飞跃水库 |
元坝镇 |
青店村 |
苍溪县元坝镇青店村村民委员会 |
东河 |
均质土坝 |
15.1 |
25.1 |
小(2)型 |
重点型 |
|
224 |
荣华水库 |
元坝镇 |
井岗村 |
苍溪县元坝镇井岗村村民委员会 |
东河 |
均质土坝 |
27.1 |
16.7 |
小(2)型 |
重点型 |
|
225 |
千人洞水库 |
元坝镇 |
黄安村 |
苍溪县元坝镇黄安村村民委员会 |
东河 |
石坝 |
17.34 |
54.39 |
小(2)型 |
重点型 |
|
226 |
先锋水库 |
元坝镇 |
文白村 |
苍溪县元坝镇文白村村民委员会 |
东河 |
均质土坝 |
11.58 |
12.79 |
小(2)型 |
一般型 |
|
227 |
东升水库 |
月山乡 |
烟峰山村 |
苍溪县月山乡烟峰山村村民委员会 |
嘉陵江 |
均质土坝 |
21.6 |
30.1 |
小(2)型 |
重点型 |
|
228 |
工农水库 |
月山乡 |
月山村 |
苍溪县月山乡月山村村民委员会 |
嘉陵江 |
均质土坝 |
16.12 |
11.3 |
小(2)型 |
重点型 |
|
229 |
建华水库 |
月山乡 |
琳山村 |
苍溪县月山乡琳山村村民委员会 |
嘉陵江 |
均质土坝 |
31.2 |
44.71 |
小(2)型 |
重点型 |
|
230 |
扬家湾水库 |
月山乡 |
双星村 |
苍溪县月山乡双星村村民委员会 |
嘉陵江 |
均质土坝 |
16.97 |
11.7 |
小(2)型 |
重点型 |
|
231 |
紫荆水库 |
月山乡 |
紫荆村 |
苍溪县月山乡紫荆村村民委员会 |
嘉陵江 |
均质土坝 |
23.92 |
12.7 |
小(2)型 |
重点型 |
|
232 |
獠牙沟水库 |
月山乡 |
钦差村 |
苍溪县月山乡钦差村村民委员会 |
嘉陵江 |
均质土坝 |
16.23 |
10.47 |
小(2)型 |
重点型 |
|
233 |
太阳水库 |
岳东镇 |
太合村 |
苍溪县岳东镇太合村村民委员会 |
东河 |
均质土坝 |
15.7 |
15.7 |
小(2)型 |
重点型 |
|
234 |
幸福水库 |
岳东镇 |
新路村 |
苍溪县岳东镇新路村村民委员会 |
东河 |
均质土坝 |
16.3 |
73.44 |
小(2)型 |
重点型 |
|
235 |
青盐水库 |
云峰镇 |
青盐村 |
苍溪县云峰镇青盐村村民委员会 |
东河流域 |
均质土坝 |
14.55 |
30.76 |
小(2)型 |
一般型 |
|
236 |
龙洞水库 |
云峰镇 |
青盐村 |
苍溪县云峰镇青盐村村民委员会 |
东河流域 |
均质土坝 |
18.7 |
22.85 |
小(2)型 |
重点型 |
|
237 |
前丰水库 |
云峰镇 |
青盐村 |
苍溪县云峰镇青盐村村民委员会 |
东河流域 |
均质土坝 |
14.5 |
16.98 |
小(2)型 |
一般型 |
|
238 |
吴家角水库 |
云峰镇 |
王渡村 |
苍溪县云峰镇王渡村村民委员会 |
东河流域 |
均质土坝 |
12.33 |
11.58 |
小(2)型 |
一般型 |
|
239 |
伏家角水库 |
云峰镇 |
赤土垭村 |
苍溪县云峰镇赤土垭村村民委员会 |
东河流域 |
均质土坝 |
18.6 |
41.81 |
小(2)型 |
重点型 |
|
240 |
太阳湾水库 |
云峰镇 |
狮岭村 |
苍溪县云峰镇狮岭村村民委员会 |
东河流域 |
均质土坝 |
24.4 |
57.5 |
小(2)型 |
重点型 |
|
241 |
胜天水库 |
云峰镇 |
三合村 |
苍溪县云峰镇三合村村民委员会 |
东河流域 |
石拱坝 |
12.25 |
11.34 |
小(2)型 |
一般型 |
|
242 |
麻塘沟水库 |
云峰镇 |
五里社区 |
苍溪县云峰镇五里社区居民委员会 |
东河流域 |
均质土坝 |
13.85 |
10.02 |
小(2)型 |
一般型 |
|
243 |
樊家角水库 |
云峰镇 |
五里社区 |
苍溪县云峰镇五里社区居民委员会 |
东河流域 |
均质土坝 |
15.82 |
14.91 |
小(2)型 |
重点型 |
|
244 |
浅沟水库 |
云峰镇 |
紫阳村 |
苍溪县云峰镇紫阳村村民委员会 |
东河流域 |
均质土坝 |
15.99 |
10.01 |
小(2)型 |
重点型 |
|
245 |
九湾水库 |
云峰镇 |
紫云社区 |
苍溪县云峰镇紫云社区居民委员会 |
嘉陵江流域 |
均质土坝 |
20.16 |
11.24 |
小(2)型 |
重点型 |
|
246 |
建设水库 |
云峰镇 |
紫云社区 |
苍溪县云峰镇紫云社区居民委员会 |
嘉陵江流域 |
均质土坝 |
24 |
56.7 |
小(2)型 |
重点型 |
|
247 |
先锋水库 |
云峰镇 |
云台村 |
苍溪县云峰镇云台村村民委员会 |
嘉陵江流域 |
均质土坝 |
15.3 |
20.44 |
小(2)型 |
重点型 |
|
248 |
群勇水库 |
云峰镇 |
插花村 |
苍溪县云峰镇插花村村民委员会 |
嘉陵江流域 |
均质土坝 |
10.8 |
17.45 |
小(2)型 |
一般型 |
|
249 |
红旗水库 |
云峰镇 |
陈石村 |
苍溪县云峰镇陈石村村民委员会 |
东河流域 |
均质土坝 |
12.33 |
10.2 |
小(2)型 |
一般型 |
|
250 |
新华水库 |
云峰镇 |
石家坝社区 |
苍溪县云峰镇石家坝社区居民委员会 |
嘉陵江流域 |
均质土坝 |
13.2 |
15.17 |
小(2)型 |
一般型 |
|
251 |
文家角水库 |
运山镇 |
双牌村 |
苍溪县运山镇双牌村村民委员会 |
严家河水系 |
土石坝 |
23.9 |
27 |
小(2)型 |
重点型 |
|
252 |
赖子角水库 |
运山镇 |
义寨村 |
苍溪县运山镇义寨村村民委员会 |
严家河水系 |
土石坝 |
16.8 |
10.56 |
小(2)型 |
重点型 |
|
253 |
二龙水库 |
浙水乡 |
红旗村 |
苍溪县浙水乡红旗村村民委员会 |
嘉陵江 |
均质土坝 |
17.8 |
26.98 |
小(2)型 |
重点型 |
|
254 |
凉山水库 |
浙水乡 |
梁都村 |
苍溪县浙水乡梁都村村民委员会 |
沙溪浩 |
均质土坝 |
16 |
10.42 |
小(2)型 |
重点型 |
|
255 |
平等水库 |
浙水乡 |
梁都村 |
苍溪县浙水乡梁都村村民委员会 |
嘉陵江 |
均质土坝 |
19.1 |
17.16 |
小(2)型 |
重点型 |
|
256 |
水文水库 |
浙水乡 |
山水村 |
苍溪县浙水乡山水村村民委员会 |
嘉陵江 |
均质土坝 |
16.64 |
10.01 |
小(2)型 |
重点型 |
|
257 |
文家梁水库 |
浙水乡 |
盘龙山村 |
苍溪县浙水乡盘龙山村村民委员会 |
嘉陵江 |
均质土坝 |
17.17 |
10.44 |
小(2)型 |
重点型 |
|
258 |
幸福水库 |
浙水乡 |
小浙河村 |
苍溪县浙水乡小浙河村村民委员会 |
嘉陵江 |
均质土坝 |
21.94 |
30.82 |
小(2)型 |
重点型 |
苍溪县突发地质灾害应急预案(试行)




1 总则
1.1 指导思想
坚持以习近平新时代中国特色社会主义思想为指导,贯彻落实习近平总书记关于防灾减灾救灾工作的重要论述,健全完善苍溪县地质灾害抢险救援工作机制,有效防范化解地质灾害风险,高效应对突发地质灾害事件,最大限度避免或减轻人员伤亡和财产损失,维护社会秩序和谐稳定,服务经济社会高质量发展大局。
1.2 编制依据
依据《中华人民共和国突发事件应对法》《地质灾害防治条例》《国家突发地质灾害应急预案》《四川省突发事件应对办法》《四川省突发地质灾害应急预案(试行)》《广元市突发地质灾害应急预案(试行)》《广元市地质灾害指挥部办公室工作规则(试行)》等有关法律法规和相关政策文件,结合我县实际,制定本预案。
1.3 适用范围
本预案适用于全县范围内突发地质灾害事件的预防、应急准备、应急处置等工作。
1.4 工作原则
(1)人民至上、生命至上
坚持以人民为中心的发展思想,牢固树立人民至上、生命至上、安全第一的理念,贯彻“两个坚持、三个转变”,积极做好地质灾害风险防控和应对准备,最大程度减少突发地质灾害造成的人员伤亡和财产损失。
(2)统一领导、分级负责
在县委领导下,政府统筹调度,按照属地为主、分级负责原则,强化乡(镇)人民政府主体责任,有关部门各司其职、密切配合、快速反应,形成突发地质灾害应对处置整体合力。
(3)预防为主、综合施策
做好隐患排查、监测预警、主动避让、工程治理等预防措施,加强应急装备和队伍建设,强化预案管理和宣传培训演练,完善会商研判、预警预报、信息报送及发布等机制,提升防范化解地质灾害风险能力。
(4)多级联动、广泛参与
充分发挥苍溪县地质灾害指挥部的统筹协调作用,突出多层级联动响应,突发地质灾害灾险情发生后,由事发地乡(镇)首先作出应急响应,根据灾险情等级,县人民政府有关部门采取相应的处置措施,同时整合各类应急力量资源,发挥专家队伍和专业技术人员作用,动员社会各界广泛参与,依靠科技手段,科学有序、精准高效应对突发地质灾害。
2 组织指挥体系与职责
2.1 组织体系
苍溪县地质灾害指挥部(以下简称县指挥部)是县应急委员会下设的专项指挥部。在县委、县政府领导下,在县应急委员会统筹协调下,建立常态化组织体系,具体负责组织、指导、协调全县突发地质灾害应急处置工作。当发生地质灾害时,根据抢险救灾需要,可以在常态组织体系基础上扩大响应,成立临时指挥机构。
2.1.1 县地质灾害指挥部常态组织体系
指挥长:县政府分管副县长
第一副指挥长:县人武部分管负责同志
常务副指挥长:县自然资源局、县应急局主要负责同志
副指挥长:县政府办公室联系分管副县长的科级干部,县水利局、县气象局、武警苍溪中队主要负责同志,县自然资源局、县应急局分管负责同志
成 员:县委宣传部、县发改局、县经信局(苍溪经开区管委会)、县教科局、县公安局、县财政局、县住建局、县交运局、县水利局、县农业农村局、县文化旅游体育局、县卫生健康局、县市场监管局、县乡村振兴局、县国资事务中心、团县委、苍溪生态环境局、县气象局、县消防救援大队、武警苍溪中队及各乡(镇)人民政府主要负责同志,县自然资源局、县应急局分管负责同志。
2.1.2 县地质灾害指挥部办公室
县地质灾害指挥部办公室(以下简称县指挥部办公室)设在县自然资源局,实行工作专班实体化运行,承担指挥部日常工作。县自然资源局主要负责同志兼任办公室主任,县自然资源局、县应急局分管负责同志兼任副主任。必要时,县自然自然局可按程序提请以县地质灾害指挥部办公室名义部署相关工作。
2.1.3 专项工作组
县指挥部根据响应等级和实际需要,临时设立相应工作组,并根据实际增减、合并工作组或调整成员单位。各工作组组长根据响应等级分别由牵头单位主要或分管负责同志担任,各工作组成员由相关成员单位抽调精干力量组成,实行集中办公。
(1)综合协调组
牵头单位:县自然资源局、县应急局
成员单位:县发改局、县公安局、县卫生健康局、县文化旅游体育局、武警苍溪中队,事发地乡(镇)人民政府
主要职责:负责应急抢险综合协调及指挥部各工作组之间的协调工作。负责收集汇总灾险情等信息和应急处置工作进展情况,及时向县委县政府和市自然资源局报告有关情况;对接有关部门和事发地党委、政府开展地质灾害应急处置工作;承办县指挥部会议、活动和文电工作;负责县指挥部后勤保障工作。完成县指挥部交办的其他任务。
(2)抢险救援组
牵头单位:县应急局
成员单位:县公安局、县自然资源局、县卫生健康局、团县委、武警苍溪中队、县消防救援大队,汛期督导技术支撑单位,事发地乡(镇)人民政府
主要职责:负责人员搜救和应急抢险。负责制定抢险救援行动计划,组织各方救援队伍和力量开展人员搜救;指导事发地人民政府开展抢险救援;统筹涉及应急救援力量和志愿者队伍的组织、派遣和管理工作;组织调用、征用抢险救援装备、设备和物资,协助各类应急救援力量的后勤保障工作;采取一定期限的应急处置措施避免人员二次伤亡。完成县指挥部交办的其他任务。
(3)技术支撑组
牵头单位:县自然资源局
成员单位:县教科局、县住建局、县交运局、县水利局、县应急局、县气象局、苍溪生态环境局,汛期督导技术支撑单位,有关行业专家,事发地乡(镇)人民政府
主要职责:负责进行灾险情动态监测、预警预报、抢险救援方案制定等技术支撑工作。组织、协调专家队伍开展地质灾害现场灾险情会商研判,提供必要的抢险救援指导;开展灾害现场及周边隐患点排查巡查;指导开展灾害现场地质灾害应急监测;开展应急测绘数据支持工作;开展气象监测,做好气象风险预警;开展生态环境监测,及时提供环境监测信息;开展水情和汛情的监测;开展交通沿线、市政公用设施及周边应急排查与监测。完成县指挥部交办的其他任务。
(4)通信电力保障组
牵头单位:县经济和信息化局
成员单位:县公安局、县应急局、县人防办、国网苍溪供电公司、电信苍溪分公司、移动苍溪分公司、联通苍溪分公司,事发地乡(镇)人民政府
主要职责:负责组织协调通信、电力运营企业抢修和维护因灾损坏的通信、电力设施,尽快恢复灾区通信、电力;调度应急通信、电力设备,做好抢险救援现场通讯、电力保障。完成县指挥部交办的其他任务。
(5)交通保障组
牵头单位:县交通运输局
成员单位:县发改局、县经信局(苍溪经开区管委会)、县公安局、县国资事务中心、国网苍溪供电公司,事发地乡(镇)人民政府
主要职责:负责落实应急运输车辆,运输救援人员和应急物资;保障水路交通秩序;协助维持现场秩序;完成县指挥部交办的其他任务。
(6)军队协调组
牵头单位:县应急局
成员单位:县人武部、武警苍溪中队,事发地乡(镇)人民政府
主要职责:协调武警部队和指挥民兵参加预警监测、群众安置、抢险救灾、社会维稳;协助建立军地协调对接渠道,加强信息互联互通,进行军地联合指挥;做好军队力量在灾害现场时的后勤保障工作。完成县指挥部交办的其他任务。
(7)调查评估组
牵头单位:县应急局、县自然资源局,事发地乡(镇)人民政府
成员单位:县住建局、县交运局、县水利局、县农业农村局、县文化旅游体育局、县气象局,汛期督导技术支撑单位
主要职责:负责组织开展灾害体的应急调查,动态掌握灾险情;收集、分析相关信息,会同技术支撑组研究后对灾害发展趋势进行初步预测,提出初步应急处置措施建议,汇总后报县指挥部;负责灾险情信息的收集、统计、核查和上报工作;开展灾险情调查和跟踪评估;对受灾情况进行调查核实,评估灾害损失;对灾后群众救助情况进行调查评估。完成县指挥部交办的其他任务。
(8)群众安置组
牵头单位:县应急局
成员单位:县发改局、县经信局(苍溪经开区管委会)、县财政局、县自然资源局、县住建局、县水利局、县商务经合局、县卫生健康局、团县委、武警苍溪中队,事发地乡(镇)人民政府
主要职责:负责灾害发生地群众紧急转移安置和基本生活保障。组织疏散、转移和临时安置受灾人员;对安置场所进行灾害风险评估,确保安全;开辟紧急避难场所,设置集中安置点,调拨帐篷、衣被、食品、饮用水等救灾物资,保障受灾群众吃饭、穿衣、饮水、住宿等基本生活需求。鼓励采取投亲靠友等方式,广泛动员社会力量及志愿者安置受灾群众。完成县指挥部交办的其他任务。
(9)医疗救治组
牵头单位:县卫生健康局
成员单位:县应急局、县经信局(苍溪经开区管委会)、县市场监管局,事发地乡(镇)人民政府
主要职责:负责医疗救治和卫生防疫工作。抢救和转送受伤群众,必要时建立医疗点,实施现场救治;加强救护车、医疗器械、药品等医疗物资的组织调度;及时向现场指挥部报告人员伤亡和救援情况;做好灾害发生地疾病预防控制和卫生监督工作,预防和有效控制传染病的暴发流行和食物中毒等突发公共卫生事件的发生。完成县指挥部交办的其他任务。
(10)社会治安组
牵头单位:县公安局
成员单位:县人武部、武警苍溪中队,事发地乡(镇)人民政府
主要职责:负责灾害发生地社会秩序稳定。开展灾区的社会治安维稳工作,预防和打击各类犯罪活动,预防和处置群体性事件;开展灾害现场指挥部、党政机关、要害部门、金融单位、避难和临时安置地等重要目标安全保卫工作。完成县指挥部交办的其他任务。
(11)宣传舆情组
牵头单位:县委宣传部
成员单位:县自然资源局、县文化旅游体育局、县卫生健康局、县应急局、团县委、县气象局、武警苍溪中队,事发地乡(镇)人民政府
主要职责:负责新闻宣传和舆情监管的组织协调工作。组织开展抢险救援行动新闻宣传报道,组织召开新闻发布会;加强舆情收集分析,开展舆情及网络意识形态监测、研判和引导工作;组织开展对灾区群众的防灾减灾、卫生防疫等方面的科普宣传和安全提示工作;做好现场新闻媒体服务管理工作。完成县指挥部交办的其他任务。
2.2 乡镇地质灾害指挥机构
各乡(镇)人民政府应当建立和完善本级人民政府地质灾害指挥部机构,负责统一指挥、协调本行政区域内的地质灾害抢险救援工作。各乡(镇)地质灾害指挥部机构应当明确组织体系,健全完善协调机制,定期召开工作会议,分析研判防灾形势,安排部署地质灾害防范应对工作。
有地质灾害防治和应急任务的乡(镇)人民政府设地质灾害指挥机构,由主要负责人担任指挥长,并明确承担地质灾害应急工作任务的工作人员,在上级地质灾害指挥部的领导下,负责本区域地质灾害防范应对工作。
3 突发地质灾害分级应对
3.1 突发地质灾害分级
按突发地质灾害危害程度、规模大小,分为特大型、大型、中型、小型地质灾害灾情和险情4个等级。
3.1.1 特大型地质灾害灾情和险情
因灾死亡30人以上(含失踪)或因灾造成直接经济损失1000万元以上的地质灾害灾情为特大型地质灾害灾情。
受灾害威胁,需搬迁转移人数在1000人以上或潜在可能造成的经济损失1亿元以上的地质灾害险情为特大型地质灾害险情。
3.1.2 大型地质灾害灾情和险情
因灾死亡10人以上、30人以下(含失踪),或因灾造成直接经济损失500万元以上、1000万元以下的地质灾害灾情为大型地质灾害灾情。
受灾害威胁,需搬迁转移人数在500人以上、1000人以下,或潜在经济损失5000万元以上、1亿元以下的地质灾害险情为大型地质灾害险情。
3.1.3 中型地质灾害灾情和险情
因灾死亡3人以上、10人以下(含失踪),或因灾造成直接经济损失100万元以上、500万元以下的地质灾害灾情为中型地质灾害灾情。
受灾害威胁,需搬迁转移人数在100人以上、500人以下,或潜在经济损失500万元以上,5000万元以下的地质灾害险情为中型地质灾害险情。
3.1.4 小型地质灾害灾情和险情
因灾死亡3人以下,或因灾造成直接经济损失100万元以下的地质灾害灾情为小型地质灾害灾情。
受灾害威胁,需搬迁转移人数在100人以下,或潜在经济损失500万元以下的地质灾害险情为小型地质灾害险情。
3.2 分级应对
发生特大型、大型地质灾害灾情和险情,在做好先期处置的同时,报请省级层面协调支持或者组织应对,并在省委、省政府的统一领导、指挥下组织实施抢险救援工作;发生中型和小型地质灾害灾情和险情,分别由市人民政府和县人民政府负责应对。当地质灾害超出县人民政府应对能力时,报请市人民政府提供支援或者负责应对。
涉及跨县(区)行政区域的,报请市人民政府应对;本县范围内,涉及跨乡(镇)行政区域的,在做好先期处置的同时,报请县级层面协调支持或组织应对,并在县委、县政府的统一领导、指挥下,组织实施抢险救援工作。
3.3 响应分级
县级层面响应分级由高到低分为一级、二级、三级。
3.3.1 一级响应
发生下列情况之一,启动县级地质灾害一级应急响应:
(1)发生特大型、大型地质灾害灾情或险情。
(2)巨灾大难诱发的社会关注度特别高、危害特别大的次生地质灾害灾情或险情。
(3)巨灾大难诱发的社会关注度高、危害大的次生地质灾害灾情或险情。
一级响应由县指挥部办公室提出启动建议,县指挥部报县委、县政府主要领导同意后启动。同时上报市地质灾害指挥部办公室,并按上级要求开展后续工作。启动后按程序向社会公布。
3.3.2 二级响应
(1)发生中型地质灾害灾情或险情。
(2)发生巨灾大难诱发的社会关注度较高、危害较大的次生地质灾害灾情或险情。
二级响应由县指挥部办公室提出启动建议,县指挥部报县委、县政府主要领导同意后启动。同时上报市地质灾害指挥部办公室,并按上级要求开展后续工作。启动后按程序向社会公布。
3.3.3 三级响应
(1)发生跨乡镇的、超出事发地乡镇党委政府应对能力的小型突发地质灾害灾情或险情。
(2)发生地质灾害本身比较敏感,或发生在重点地区、或重大活动举办、重要会议召开等时期的小型突发地质灾害灾情或险情。
三级响应由县指挥部办公室提出启动建议(发生灾害本身比较敏感、或发生在重点地区、敏感时段期间,可适当提高响应级别),报指挥长同意后启动。启动后按程序向社会公布。
县级层面根据地质灾害灾情和险情,综合研判确定是否启动响应和响应级别。乡(镇)要结合本地实际,科学设置本级响应级别和启动条件,原则上应满足逐级提升响应、分级承担任务的总体要求。
3.3.4 响应级别调整
启动应急响应后,根据地质灾害发展变化趋势,由县指挥部办公室提出调整响应级别建议,并参照应急响应启动程序报批后,调整响应级别,避免响应不足或响应过度。
4 预防机制
4.1 防灾措施
(1)年度防治方案。每年年初,县自然资源主管部门会同同级住建、交运、水利、应急等部门依据地质灾害防治规划,拟订本年度地质灾害防治方案,报县人民政府公布后实施。
(2)群测群防。乡镇人民政府要根据当地已查出的地质灾害隐患点,将群测群防工作落实到乡(镇)长、村(居)委会主任以及受威胁群众,每个隐患点要落实1名防灾责任人、监测责任人和专职监测员,要将“地质灾害危险点防御预案表”“防灾工作卡”和“避险明白卡”发到防灾责任人和受威胁群众手中。
(3)隐患排查。严格落实“三查”制度,采用群专结合、人技结合、点面结合等方式,充分运用新技术新方法,动态开展地质灾害风险隐患排查。对排查发现的风险隐患,及时落实防灾责任和防范应对措施,有效防控地质灾害风险。
(4)驻守技术支撑。县自然资源主管部门落实驻守技术支撑队伍,协助开展隐患排查、预案编制、群众转移安置、培训演练、应急调查与监测等工作,有效增强基层防灾力量。
(5)综合治理。根据地质灾害隐患的规模及威胁状况,分轻重缓急,采取避险搬迁、排危除险、工程治理等分类处置措施,加大地质灾害综合整治力度,及时消除地质灾害威胁。
(6)培训演练。各乡(镇)应统筹专业力量开展地质灾害宣传,并对辖区有关部门(责任单位)负责人、乡镇村社干部、监测人员、志愿者、受威胁群众、工程建设单位及项目管理人员等进行全覆盖培训,提升防灾水平和避险能力。
(7)督导检查。县地质灾害指挥部适时派出工作组开展督导检查,重点检查责任落实、隐患排查、监测预警、预案编制、培训演练、物资储备、队伍建设等,推动工作部署落地见效。
4.2 预警机制
4.2.1 信息收集与分析
县自然资源、气象部门负责收集、整理与地质灾害预防预警有关的数据资料和信息,开展地质灾害中、短期趋势预测,对未来可能发展趋势及影响作出评估,提出预防或应急措施建议。建立地质灾害监测、预报、预警等资料数据库,实现信息共享。
4.2.2 预警分级
县自然资源、气象等部门负责设定地质灾害预报预警指标,对可能发生地质灾害的相关区域进行地质灾害气象风险预警。预警级别从低到高分别为四级、三级、二级、一级,分别用蓝色、黄色、橙色、红色表示。
蓝色预警:预计地质灾害发生有一定风险。
黄色预警:预计地质灾害发生风险较高。
橙色预警:预计地质灾害发生风险高。
红色预警:预计地质灾害发生风险很高。
4.2.3 预警信息发布
预警信息的内容包括突发地质灾害可能发生的时间、空间范围和风险等级等。县地质灾害指挥部办公室应加强预警信息管理,建立预警信息共享发布机制,实现预警信息的权威统一发布,提高预警信息发布的时效性和覆盖面。
(1)发布权限。县自然资源主管部门要加强与气象部门会商,负责确定预警区域、级别,按相应权限发布,并报县人民政府。
(2)发布方式。预警信息的发布和调整应及时通过广播、电视、手机、报刊、通信与信息网络、警报器、宣传车、大喇叭或组织人员逐户通知等方式进行。
(3)发布对象。明确预警发布范围,将受地质灾害威胁的城镇、学校、医院、集市、农家乐、景区、安置点、在建工地等人口聚集区作为重点发布对象。
(4)信息反馈。承担地质灾害防治与应急职责的有关部门(单位)接收到预警信息后,应及时向发布预警信息的部门反馈接收及响应结果。
4.2.4 预警响应
预警信息发布后,预警区域内的当地政府依照群测群防责任制的规定,立即将有关信息通知地质灾害隐患点的防灾责任人、监测责任人、监测员和该区域内的群众;相关防灾责任人和当地群众对照“防灾工作卡”和“避险明白卡”要求,做好防范应对工作。
(1)四级(蓝色)预警响应
预警地乡(镇)人民政府及有关部门要密切关注雨情、水情变化,实行24小时值班值守,相关人员迅速到岗到位,保持通信联络畅通。
(2)三级(黄色)预警响应
在四级响应基础上,强化24小时值班值守,密切关注降雨预报及降雨实况,会商研判地质灾害发展趋势,适时加密开展地质灾害气象风险等级预报;检查防灾责任体系落实情况;加密房前屋后斜坡、靠山靠崖、沟口等危险地段巡查与监测;做好监测预警和预警信息发布;督促指导当地政府和有关单位按职责分工做好隐患点受威胁人员转移避让准备,必要时,组织指导隐患风险严重区域受威胁人员果断转移避让,确保群众生命安全;做好突发地质灾害应急准备工作。
(3)二级(橙色)预警响应
在三级响应基础上,对地质灾害易发地段加密巡查、排查、监测;滚动开展地质灾害气象风险等级预报;加强短时预警预报;督促指导有关部门和单位适时组织隐患点受威胁人员提前转移避让;做好突发地质灾害应急准备工作;县级应急抢险救援队伍和技术支撑队伍做好待命准备。
(4)一级(红色)预警响应
在二级响应基础上,加强地质灾害易发地段及地质灾害隐患点24小时巡查、监测、预警;实时加强雨情、灾情收集研判;督促指导有关部门和单位组织受威胁人员严格落实“三避让”“三个紧急撤离”,防止无关人员进入地质灾害危险区域,必要时,可强行组织避灾疏散。
4.2.5预警转换和结束
预警响应级别可视气象预报及实时雨情、水情、灾情监测情况确定或逐步升(降)级。超出地质灾害预报预警时限,未再发布新的黄色预警以上地质灾害气象风险预警,或在预警时段内未发生地质灾害,预警响应结束。
5 应急处置
5.1 信息报送
(1)报告流程及时限
发现或接报突发地质灾害事件的乡(镇)政府及企事业单位应立即向当地基层自治组织和群众示警,同时向县人民政府及自然资源、应急等部门报告情况。事发地乡(镇)人民政府要及时将地质灾害相关信息向上级人民政府及其自然资源、应急部门报告,每级上报时限不得超过1小时,必要时可先越级上报再逐级上报。当发生有人员伤亡的地质灾害时,县人民政府及自然资源、应急部门应采取一切措施尽快掌握情况,分别及时向市委、市政府及市自然资源局、市应急管理局电话报告或通过紧急信息报送渠道报告,并在事发30分钟内书面报告相关情况。市委、市政府对报告时限另有规定的,从其规定执行。
(2)信息报告内容
信息报告应坚持“边处置边报告、边核实边报告”,做到“首报快、续报准、终报全”。报告内容应尽可能详细说明地质灾害发生的时间、地点、灾害类型、灾害体的规模、可能的引发因素和发展趋势等,同时提出已采取的对策和措施。对地质灾害灾情的速报,还应包括伤亡、失踪和受伤的人数及造成的直接经济损失等。
5.2 先期处置
地质灾害发生后,事发地乡(镇)人民政府应立即启动应急预案,果断组织干部群众避险转移、自救互救,迅速采取排险措施,划定地质灾害危险区,设立明显警示标志,组织受灾害威胁区域的人员避险转移,组织抢险救灾队伍开展人员搜救和医疗救护,并按规定做好情况报告。
县指挥部办公室迅速调度了解灾情形势,提出启动县级地质灾害应急响应的建议,组织支援力量进入预备状态。
县指挥部各成员单位迅速按照本单位预案启动应急响应,开展先期处置,及时向县委、县政府报告工作进展并通报县指挥部办公室。
5.3 指挥部运行
5.3.1 一级响应组织指挥与应急行动
在“四川省XX·XX(日期)XX(地名)XX(地质灾害类型)抢险救灾指挥部”或上级现场工作组领导下开展应对处置。先期处置阶段,实施以县地质灾害指挥部为基础的扩大响应,成立“苍溪县XX·XX(日期)XX(地名)XX(地质灾害类型)抢险救灾指挥部(以下简称县抢险救灾指挥部)”,下设若干工作组,由县长任总指挥,县人民政府、县人武部、苍溪武警中队等有关单位领导任副总指挥并兼任有关工作组组长,县直有关部门和乡(镇)党委主要负责同志任副组长或成员。
应急行动主要有:
(1)县抢险救灾指挥部及时向市委、市政府和市应急管理局、市自然资源局报告灾情和应急处置工作进展情况,按照上级领导指示批示要求,统一部署开展应急处置工作;视情请求市委市政府和市级有关部门给予援助。
(2)县抢险救灾指挥部总指挥或总指挥指定其他县领导组织指挥应急处置工作,灾害发生后迅速召开县抢险救灾指挥部会议。按程序启动一级响应决定,了解地质灾害信息、发展趋势、抢险救援需求,组织协调抢险救援力量开展应急处置工作;与市指挥部取得联络后,按照上级要求开展后续工作。
(3)县抢险救灾指挥部总指挥或总指挥指定其他县领导靠前指挥,实时组织抢险救灾工作,并视情派出多个工作组分赴重点区域现场督导;与市指挥部取得联络后,按照上级要求开展后续工作。
(4)在县抢险救灾指挥部指导下组建后方协调中心,由1名副指挥长牵头负责。相关成员单位派联络员集中办公,负责联络协调、处理本单位有关的工作;当上级现场工作组到达后,由市级指挥机构对市、县后方集中办公人员进行统筹、安排。
(5)县抢险救灾指挥部相关工作组迅速到位,牵头单位组织相关成员按职责开展应急处置工作;与市指挥部取得联络后,按照上级要求开展后续工作。
(6)县抢险救灾指挥部对外发布启动一级响应决定,组织编写应急处置工作简报。有关工作组和成员单位组织、协调媒体做好抢险救援工作报道。
5.3.2 二级响应组织指挥与应急行动
在县委、县政府领导下,县地质灾害指挥部负责从常态组织体系中组织有关成员单位和受灾乡(镇)成立县抢险救灾指挥部,下设若干工作组,由县人民政府分管副县长任指挥长,相关成员单位及受灾乡(镇)主要负责同志、分管负责同志分别担任副指挥长和相关工作组组长。
应急行动主要有:
(1)县抢险救灾指挥部及时向县委、县政府和市应急管理局、市自然资源局报告灾险情和应急处置工作进展情况。按照上级领导指示批示要求,统一部署开展应急处置工作。
(2)指挥长组织指挥应急处置工作,灾害发生后迅速召开县抢险救灾指挥部会议。会议宣布启动二级响应决定,了解地质灾害信息、发展趋势、抢险救援需求,组织协调抢险救援力量开展应急处置工作。
(3)指挥长或指挥长安排常务副指挥长靠前指挥,实时组织抢险救灾工作,并视情派出多个工作组分赴重点区域现场督导。
(4)县抢险救灾指挥部相关工作组迅速到位,牵头单位组织相关成员按职责开展应急处置工作。
(5)县抢险救灾指挥部对外发布启动二级响应决定,组织编写应急处置工作简报,及时发布有关信息。有关工作组和成员单位组织、协调媒体做好抢险救援工作报道。
5.3.3 三级响应组织指挥与应急行动
县地质灾害指挥部视情况从常态组织体系中组织相关成员单位和受灾县区成立市抢险救灾指挥部或工作组开展应对处置工作。事发地乡(镇)人民政府或其指挥机构负责具体组织指挥、应对处置工作。
应急行动主要有:
(1)县地质灾害指挥部常务副指挥长指导、协调应急处置工作,灾害发生后及时召开会议,了解地质灾害信息、发展趋势、抢险救援需求。会议宣布启动三级响应决定,组织协调抢险救援力量开展应急处置工作。
(2)及时向县委、县政府和市应急管理局、市自然资源局报告灾险情和应急处置工作进展情况,按照上级领导指示批示要求,统一部署开展应急处置工作。
(3)县地质灾害指挥部派出工作组、专家组赶赴灾区现场指导应急处置工作。
(4)县地质灾害指挥部对外发布启动三级响应决定,组织编写应急处置工作简报,及时发布有关信息。有关工作组和成员单位组织、协调媒体做好抢险救援工作报道。
5.3.4 其他情况组织指挥与应急行动
县级层面未启动响应时,由事发地县乡(镇)人民政府或其指挥机构负责组织应对处置工作。县指挥部办公室指导、协调相关应急处置工作。
应急行动主要有:
(1)县自然资源局第一时间调度了解灾情信息、发展趋势,及时向县委、县政府报告。
(2)县指挥部相关成员单位各司其职,迅速指导当地力量开展应急处置工作。
(3)县指挥部办公室视情派出工作组、专家组赶赴灾区现场指导应急处置工作。
5.4 应急处置主要措施
(1)开展人员搜救。立即组织基层组织、有关单位和广大干部群众开展自救互救,组织协调各方应急救援力量,调配挖掘机、铲车、千斤顶、生命探测仪等救援装备,开展被困或失联人员搜救,并根据工作需要,按程序提请武警部队参与抢险救援。现场救援队伍加强协调和配合,合理划分责任边界,遇有危险时及时传递警报,确保自身防护安全。
(2)抢修基础设施。抢修因灾损毁的铁路、公路等交通基础设施,协调运力,优先保障应急抢险救援人员、救灾物资和伤病员运输需要。抢修供电、供水、通信、广播电视等基础设施,保障灾区群众生活需要和应急处置工作正常开展。
(3)组织避险转移。指导事发地人民政府按照群测群防有关规定,立即将有关信息通知到地质灾害隐患点的防灾责任人、监测人员和受威胁的群众,组织群众转移避让或采取排危除险措施,及时划定地质灾害危险区,设立明显标志,禁止无关人员进入。
(4)开展医疗救治。迅速协调组织应急医疗队伍赶赴现场,抢救受伤群众,必要时建立医疗点,实施现场救治。加强救护车、医疗器械、药品等医疗物资的组织调度,确保被救人员得到及时医治,最大程度减少伤员致死致残。统筹周边地区的医疗资源,根据需要及时分流重伤员,实施异地救治。开展灾后心理援助。
(5)加强气象风险预警预报。开展应急值班值守工作,根据应急工作需要,加强开展灾区气象条件和天气趋势监测预报,动态发布突发地质灾害气象风险预警信息。
(6)开展灾险情监测与研判。组织专业队伍及专家指导开展灾害现场应急调查和监测预警及周边地质灾害隐患排查监测,会商研判灾险情及发展趋势,为抢险救援工作提供技术支撑。
(7)开展灾险情调查评估与报送。开展灾险情详细调查,对灾区损失情况进行评估和统计汇总,按规定程序和要求及时报送灾险情信息和应急处置工作情况。
(8)采取紧急处置措施。结合灾险情评估和趋势研判情况,在确保安全的前提下,组织专业技术队伍采取一定期限的排危除险等应急处置措施,延缓灾害发展进程,减轻灾害造成的损失,防止造成二次伤亡。
(9)安置受灾群众。开放应急避难场所或设置集中安置点,对安置场所进行地震、洪灾、地质灾害等灾害风险评估,确保安置场所安全;组织和调运食品、饮用水、帐篷、衣被等各类救灾物资,保障好受灾群众基本生活需求;在受灾群众集中安置点配备必要的消防器材,严防火灾发生。鼓励采取投亲靠友等方式解决临时困难,广泛动员社会力量安置受灾群众。
(10)维护社会治安。加强灾区治安、道路交通管理,加强重点单位、重点部位安全保卫工作,依法打击各类犯罪活动,做好社会治安风险监测、矛盾纠纷化解,严密防范、妥善处置群体性事件,维护社会稳定。
(11)做好新闻宣传与舆情应对。统筹做好灾险情应急处置和抢险救援新闻报道工作。加强舆论应对和引导,依法打击编造、传播虚假信息的行为。
5.5 应急信息发布
县人民政府或乡(镇)地质灾害指挥机构应及时准确、客观全面向社会发布地质灾害防范和应急抢险救援相关信息。重要信息发布前,须征求县人民政府新闻办公室意见。县委、县政府的相关重大决策、部署和中型及以上的地质灾害信息等,由县地质灾害指挥部统一审核和发布。在县级媒体以上公开报道的稿件,县自然资源局负责审核地质灾害的类型、规模、成因、性质及造成的损失等情况,县应急局负责审核抢险救援等应急处置情况。涉及人员伤亡、经济损失的,由县自然资源局、县应急局牵头商有关部门共同审核。
各乡(镇)应健全地质灾害信息发布机制,加强与新闻媒体的沟通对接,及时、准确、规范发布权威信息,回应社会关切,营造良好舆论氛围;对于链发性灾害,在定性前应使用“自然灾害”“暴雨灾害”等中性词语宣传报道,避免因灾害信息前后矛盾引发公众质疑和舆情。
5.6 响应结束
突发地质灾害应急处置工作结束,或相关威胁和危害得到有效控制,灾区社会秩序基本恢复正常,县指挥部办公室提出终止响应的建议,按程序报请批准后宣布终止响应,应急救援阶段转入恢复重建阶段。
6 后期处置
6.1 调查评估
县级及以上的地质灾害指挥部应组织对造成较大损失的地质灾害事件开展调查评估,查清事件的起因与过程,总结经验教训,制定改进措施,形成事件调查评估报告,并按程序报送同级政府及上一级地质灾害指挥部。
6.2 恢复重建
突发地质灾害应对工作结束后,灾害发生地乡(镇)人民政府应做好救助、补偿、抚慰、抚恤、安置等工作,并根据灾害损失实际,组织开展灾后恢复重建工作。县发改局、县财政局、县自然资源局、县应急局等县级相关部门按照各自职责给予指导和帮助。
7 应急保障
7.1 队伍与装备保障
突发地质灾害应急救援队伍由消防救援队伍、武警部门、县内各级各部门建立的专业应急救援队伍、基层应急救援队伍和社会救援力量等组成。县、乡(镇)地质灾害指挥机构要加强本级队伍建设和管理,专业队伍配置生命探测、土石方清理、个人防护等必要装备器材,并加强培训,实现精准救援和快速处置。
7.2 物资保障与避灾场所
县人民政府、乡(镇)人民政府要建立健全突发地质灾害应急物资保障体系,制定应急物资储备目录清单,建立应急物资储备库。完善重要应急物资生产、储备、调拨、更新、登记和紧急配送机制,采取实物储备、商业储备、产能储备等方式,保证抢险救灾物资的供应。建立完善应急避灾场所,储备用于灾民安置、医疗卫生保障、生活必需等必要的专用物资。
7.3 技术保障
县级各有关部门(单位)要加大对地质灾害防治及应急处置、抢险救援方法、技术、装备的研究运用和及时更新,积极支持开展地质灾害调查评价、风险评估、监测预警、气象预报预警等相关理论研究和技术攻关,提升地质灾害应急能力和水平。
7.4 通信与信息保障
加强地质灾害监测、预报、预警信息系统建设,充分利用现代通信手段和网络技术,逐步建立覆盖全县的地质灾害应急管理信息平台,并实现部门间相关信息互通共享。
7.5 资金保障
县人民政府、各乡(镇)人民政府应将地质灾害防治与应急处置经费纳入同级财政预算予以保障。发生地质灾害时,财政部门要及时安排拨付相关资金。处置突发地质灾害所需财政负担的经费,按照现行财权事权和支出责任划分原则,分级负担。
8 预案管理与更新
8.1 预案管理
县指挥部办公室负责编制完善本预案,报县人民政府批准后实施。各乡(镇)地质灾害指挥机构应参照本预案,制定完善本行政区突发地质灾害应急预案,报同级政府批准后实施,并报上级地质灾害指挥部备案。有关部门应制订本部门的突发地质灾害应急预案,经部门主要负责同志批准后印发实施。
8.2 预案演练
乡(镇)地质灾害指挥机构每年至少组织1次应急演练,相关部门和单位应积极配合参与。乡(镇)人民政府要按照实战化要求,针对排查发现的地质灾害隐患点、风险区,逐点、逐区组织受威胁群众开展防灾避险培训、演练,特别是要强化夜间和断路、断电、断网等特殊情境下的避险演练,且每个地质灾害隐患点、风险区应在每年主汛期前至少组织开展1次演练。
8.3 预案评估更新
预案实施后,县地质灾害指挥部办公室会同有关部门组织预案学习、宣传和培训;根据市级、县级相关预案修订情况和工作实际,适时组织预案评估和修订,并报原审批机构批准后实施。
9 监督与奖惩
9.1 监督
县地质灾害指挥部要强化对地质灾害防治和应急工作的常态化督导,采取“四不两直”等方式,对工作组织开展不力、责任不落实、措施不到位、研判处置不当的,要采取“两书一函”的形式督促整改落实,造成严重后果的,要提请相关部门严肃追责问责。
9.2 奖励
宣传地质灾害防灾救灾工作中涌现出的先进模范和典型事迹,对作出贡献突出的单位和个人,按照《地质灾害防治条例》等相关规定给予表彰和奖励。
9.3 责任追究
对引发地质灾害的单位和个人的责任追究,按照《地质灾害防治条例》相关规定处理;对在地质灾害防治和应急救援处置中失职、渎职的人员,依据国家有关法律、法规追究责任。迟报、漏报、瞒报、谎报地质灾害信息的,将视情况按有关规定追究相关责任人责任。
10 附则
10.1 名词术语解释
地质灾害易发区:指具备地质灾害发生的地质构造、地形地貌和气候条件,容易发生地质灾害的区域。
地质灾害危险区:指已经出现地质灾害迹象,明显可能发生地质灾害且可能造成人员伤亡和经济损失的区域或者地段。
次生灾害:指由地质灾害造成的工程结构、设施和自然环境破坏而引发的灾害,如水灾、爆炸及剧毒和强腐蚀性物质泄漏等。
直接经济损失:指地质灾害及次生灾害造成的物质破坏,包括建筑物和其他工程结构、设施、设备、物品、财物等破坏引起的经济损失,以重新修复所需费用计算。不包括非实物财产,如货币、有价证券等损失。
地质灾害气象风险预警级别分级:指根据某一地域、地段或地点在特定时间段内受气象因素影响发生地质灾害的可能性大小而确定的预警级别。
三查:雨前排查、雨中巡查、雨后核查。
三避让:主动避让、提前避让、预防避让。
三个紧急撤离:危险隐患点发生强降雨时要紧急撤离,接到暴雨蓝色及以上预警或预警信号要立即组织高风险区域群众紧急撤离,出现险情或对险情不能准确研判时要紧急撤离。
两书一函:约谈通知书、整改通知书和提醒督促函。
四不两直:不发通知、不打招呼、不听汇报、不用陪同接待、直奔基层、直插现场。
本预案有关数量的表述中,“以上”含本数,“以下”不含本数。
10.2 预案解释
本预案由县指挥部办公室负责解释。
10.3 预案实施时间
本预案自印发之日起实施。县人民政府办公室印发的《苍溪县突发地质灾害应急预案(试行)》(苍府办发〔2020〕9号)同时废止。
附件:1.苍溪县应对地质灾害组织指挥体系参考图
2.苍溪县应对地质灾害应急响应流程参考图
3.突发地质灾害分级一览表
4.突发地质灾害响应分级一览表
附件1
苍溪县应对地质灾害组织指挥体系参考图

附件2
苍溪县应对地质灾害应急响应流程参考图

附件3
突发地质灾害分级一览表

附件4
突发地质灾害响应分级一览表

信息公开选项:主动公开
抄送:县委办公室,县人大常委会办公室,县政协办公室,县纪委监委机关,县法院,县检察院,县人武部。